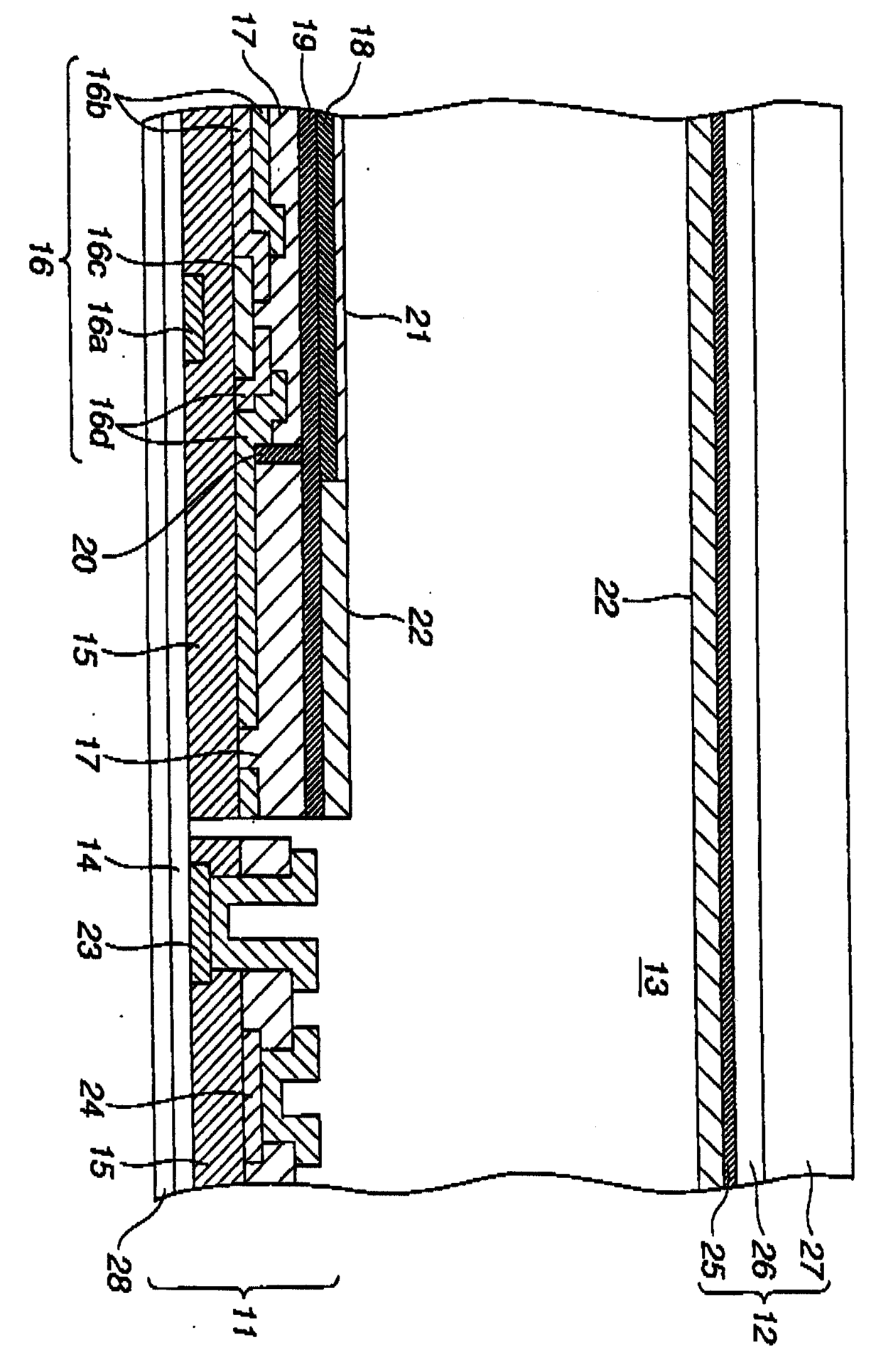
标题:
투과반사액정표시장치
授权日:
1900-01-01
公开(公告)号:
KR1020030017406A
申请日:
2002-08-22
公开(公告)日:
2003-03-03
当前申请(专利权)人:
엔엘티 테크놀로지 가부시키가이샤
发明人:
이케노히데노리 | 스즈키마사요시
简单同族:
EP1286204A2 | EP1286204A3 | JP2003066473A | JP4831721B2 | KR100670168B1 | KR1020030017406A | NO20023990A | NO20023990D0 | NO20023990L | NO337071B1 | TW574514B | US20030038909A1 | US6862058
简单同族成员数量:
13
简单同族被引用专利总数:
77
诉讼案件数:
0
法律状态/事件:
未缴年费 | 异议