首页
专利数据库
产业人才
行业动态
产业政策法规
维权援助
个人中心
登录/注册
详情
文本
图像
标题:
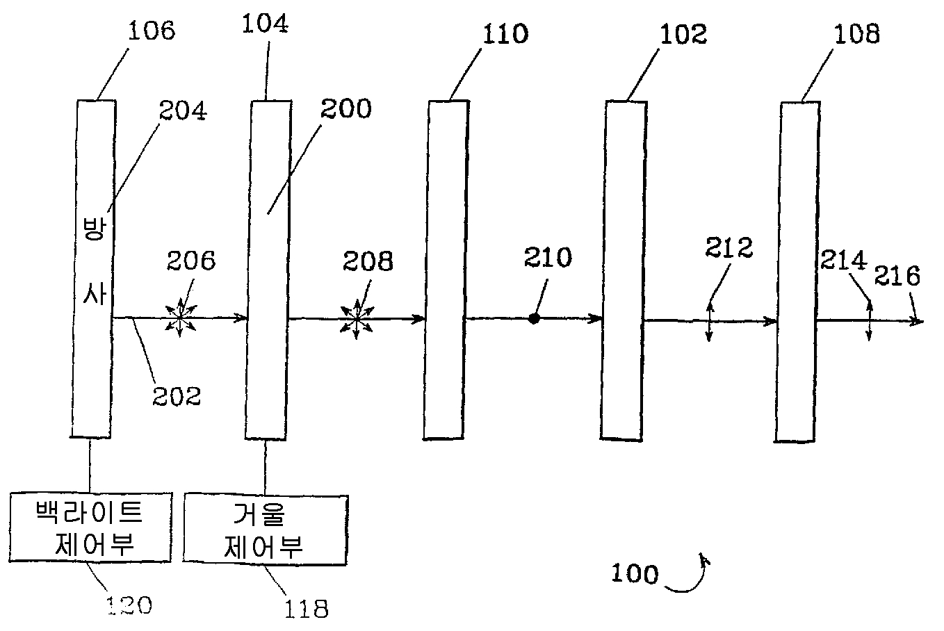
고휘도 반투과형 액정 디스플레이 및 가변형 거울의 사용방법
授权日:
1900-01-01
公开(公告)号:
KR1020040019257A
申请日:
2001-09-21
公开(公告)日:
2004-03-05
当前申请(专利权)人:
텔레다인 라이센싱, 엘엘씨
发明人:
윈커부루스 | 구닝윌리엄제이
简单同族:
AU2001291187A1 | EP1322996A2 | JP2004522983A | JP2004522983A5 | KR100695186B1 | KR1020040019257A | US6710831 | WO2002029484A2 | WO2002029484A3
简单同族成员数量:
9
简单同族被引用专利总数:
72
诉讼案件数:
0
法律状态/事件:
未缴年费