首页
专利数据库
产业人才
行业动态
产业政策法规
维权援助
个人中心
登录/注册
详情
文本
图像
标题:
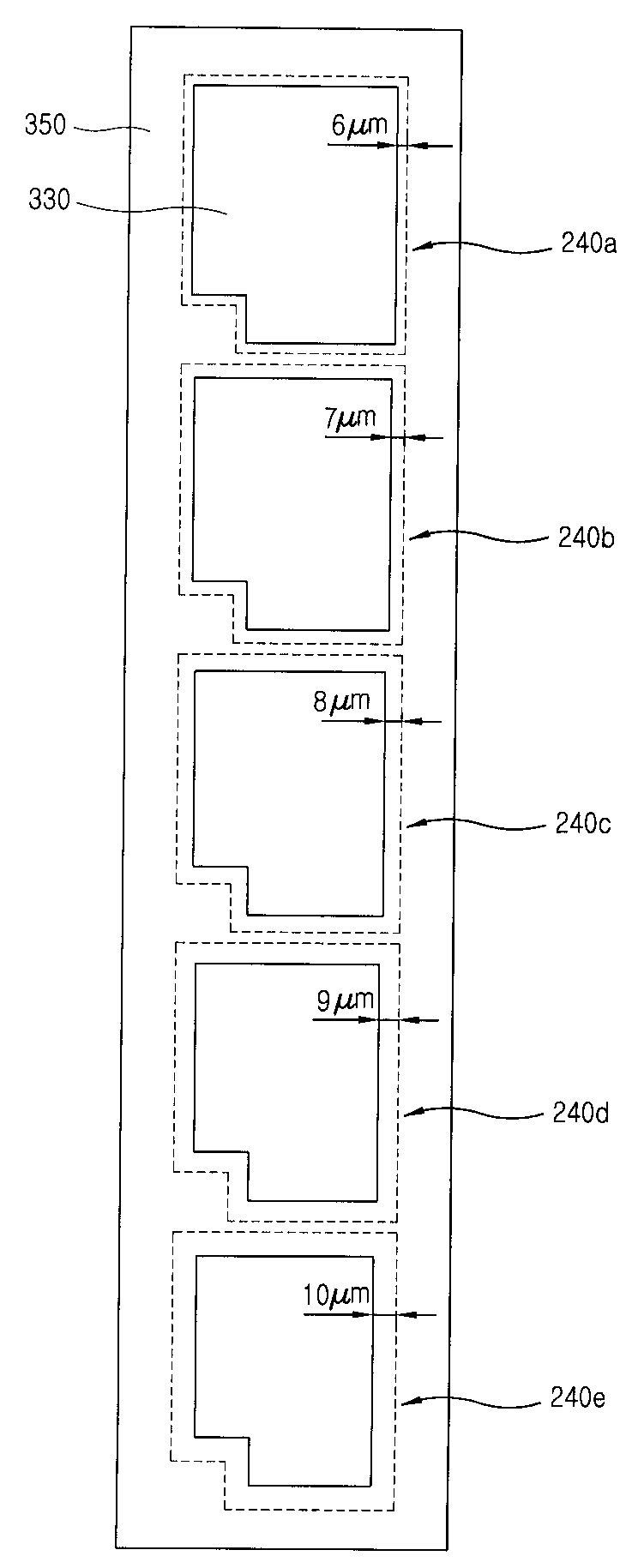
빛샘 현상을 용이하게 관찰할 수 있는 액정표시장치 및이를 이용해 최적 폭의 블랙 매트릭스를 제작
授权日:
1900-01-01
公开(公告)号:
KR1020040054425A
申请日:
2002-12-18
公开(公告)日:
2004-06-25
当前申请(专利权)人:
엘지디스플레이 주식회사
发明人:
임주수
简单同族:
KR100662780B1 | KR1020040054425A | US20040119917A1 | US20050007526A1 | US6801275 | US6906766
简单同族成员数量:
6
简单同族被引用专利总数:
54
诉讼案件数:
0
法律状态/事件:
授权