首页
专利数据库
产业人才
行业动态
产业政策法规
维权援助
个人中心
登录/注册
详情
文本
图像
标题:
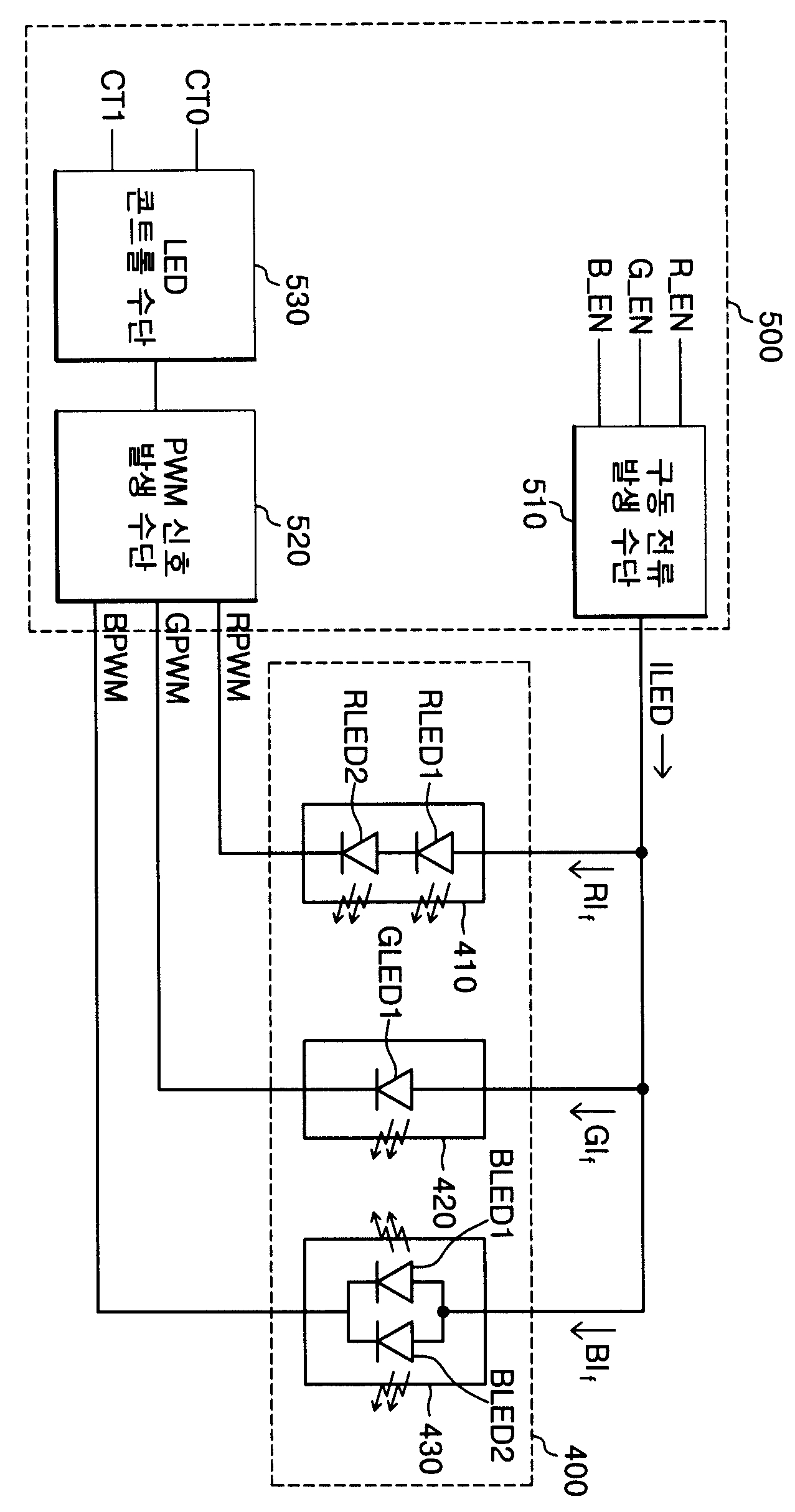
백라이트 구동회로 및 이를 구비한 액정 표시 장치
授权日:
1900-01-01
公开(公告)号:
KR1020060093604A
申请日:
2005-02-22
公开(公告)日:
2006-08-25
当前申请(专利权)人:
삼성에스디아이 주식회사
发明人:
KIM,TAE SOO
简单同族:
JP2006235565A | JP4602194B2 | KR100752376B1 | KR1020060093604A | US20060187181A1 | US7652655
简单同族成员数量:
6
简单同族被引用专利总数:
71
诉讼案件数:
0
法律状态/事件:
放弃 | 权利转移