标题:
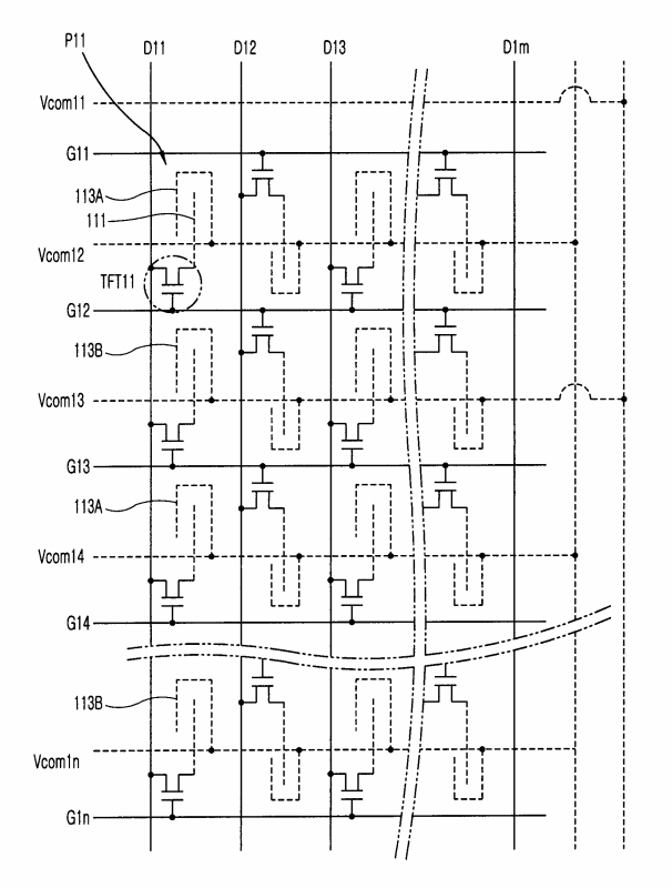
액정표시장치
授权日:
2006-11-23
公开(公告)号:
KR100652215B1
申请日:
2003-06-27
公开(公告)日:
2006-11-30
当前申请(专利权)人:
엘지디스플레이 주식회사
发明人:
김경석 | 이재균
简单同族:
CN1320399C | CN1577013A | DE102004030136A1 | DE102004030136A8 | DE102004030136B4 | FR2856834A1 | FR2856834B1 | GB0413727D0 | GB2403336A | GB2403336B | JP2005018077A | KR100652215B1 | KR1020050001249A | TW200500998A | TWI279759B | US20040263743A1 | US7319448
简单同族成员数量:
17
简单同族被引用专利总数:
81
诉讼案件数:
0
法律状态/事件:
授权