首页
专利数据库
产业人才
行业动态
产业政策法规
维权援助
个人中心
登录/注册
详情
文本
图像
标题:
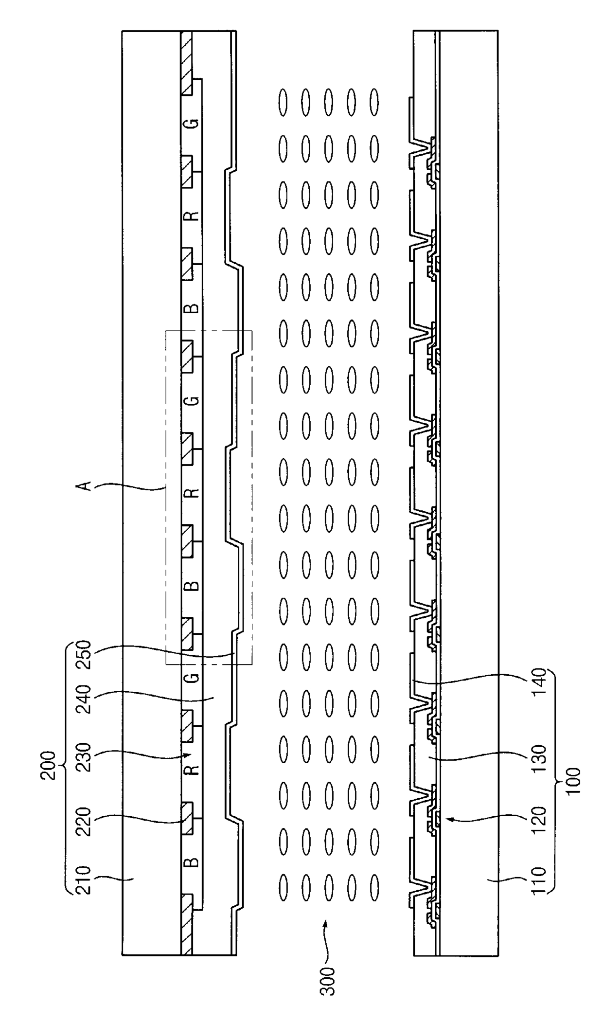
표시패널 및 이의 제조방법
授权日:
1900-01-01
公开(公告)号:
KR1020070087961A
申请日:
2006-02-24
公开(公告)日:
2007-08-29
当前申请(专利权)人:
삼성전자주식회사
发明人:
이준우 | 김희섭 | 이창훈 | 한은희
简单同族:
KR1020070087961A
简单同族成员数量:
1
简单同族被引用专利总数:
0
诉讼案件数:
0
法律状态/事件:
撤回