标题:
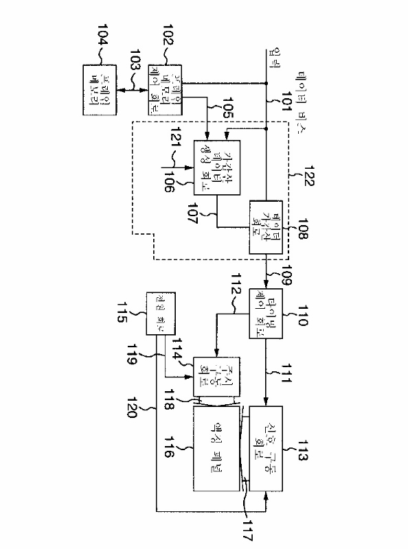
개선된 응답 속도를 갖는 구동 회로를 구비한 액정 표시장치
授权日:
2002-11-20
公开(公告)号:
KR100363350B1
申请日:
2000-09-19
公开(公告)日:
2002-12-05
当前申请(专利权)人:
가부시키가이샤 히타치세이사쿠쇼 | 가부시끼가이샤 히다찌 가조 죠호 시스템
发明人:
후루하시즈또무 | 이누즈까다쯔히로 | 구리하라히로시 | 오노기꾸오
简单同族:
DE60044327D1 | EP1094437A2 | EP1094437A3 | EP1094437B1 | JP2001117074A | KR100363350B1 | KR1020010050512A | TW493147B | US20030117358A1 | US20050062701A1 | US6556180 | US6714181 | US7061511
简单同族成员数量:
13
简单同族被引用专利总数:
107
诉讼案件数:
0
法律状态/事件:
未缴年费 | 权利转移