首页
专利数据库
产业人才
行业动态
产业政策法规
维权援助
个人中心
登录/注册
详情
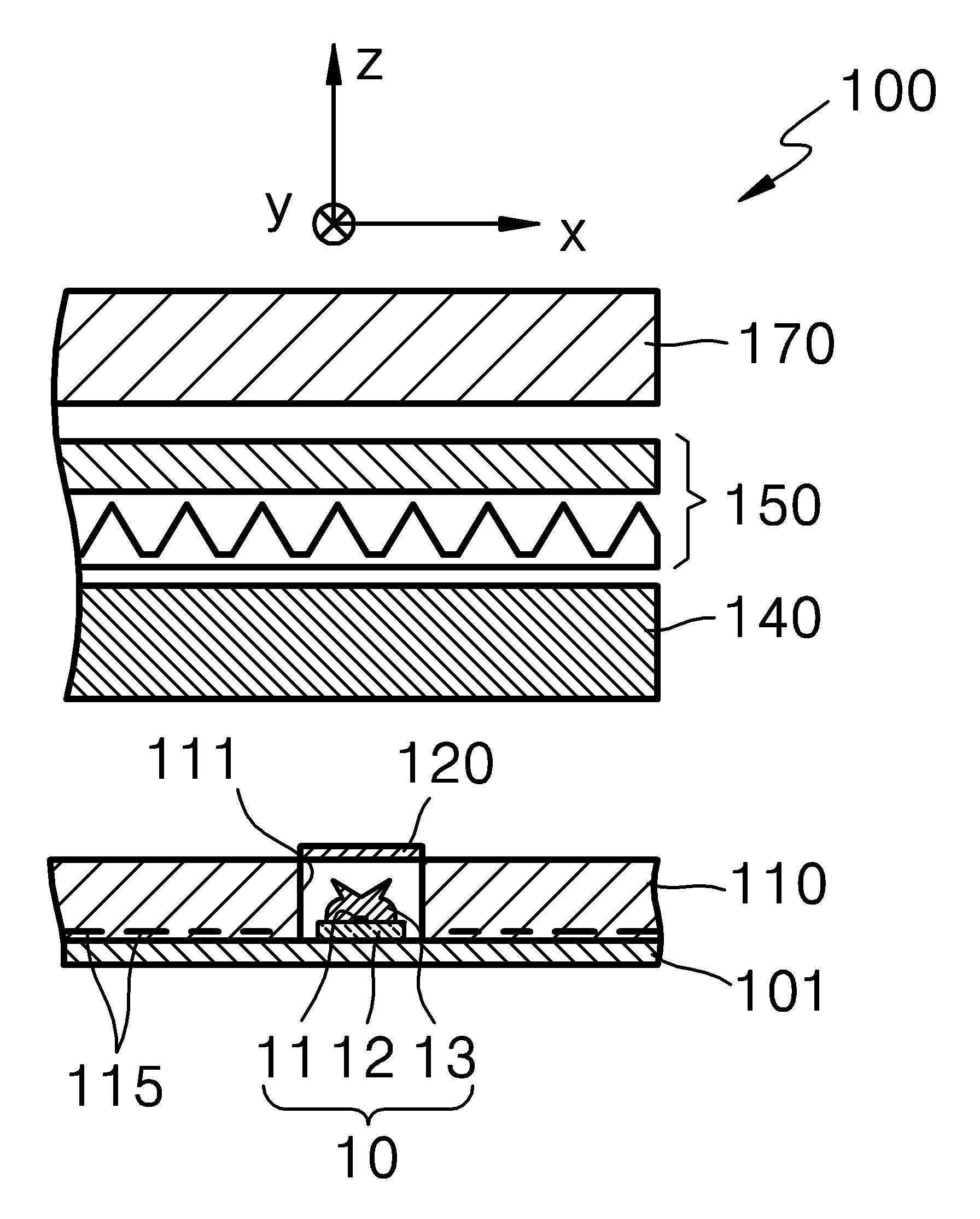
文本
图像
标题:
백라이트 시스템 및 이를 채용한 액정표시장치
授权日:
1900-01-01
公开(公告)号:
KR1020060072455A
申请日:
2004-12-23
公开(公告)日:
2006-06-28
当前申请(专利权)人:
삼성전자주식회사
发明人:
노지환 | 정진길 | 정일용
简单同族:
CN100410768C | CN1794060A | JP2006179494A | JP5085864B2 | KR100716989B1 | KR1020060072455A | NL1030663A | NL1030663C | US20060139955A1 | US7407316
简单同族成员数量:
10
简单同族被引用专利总数:
64
诉讼案件数:
0
法律状态/事件:
未缴年费