首页
专利数据库
产业人才
行业动态
产业政策法规
维权援助
个人中心
登录/注册
详情
文本
图像
标题:
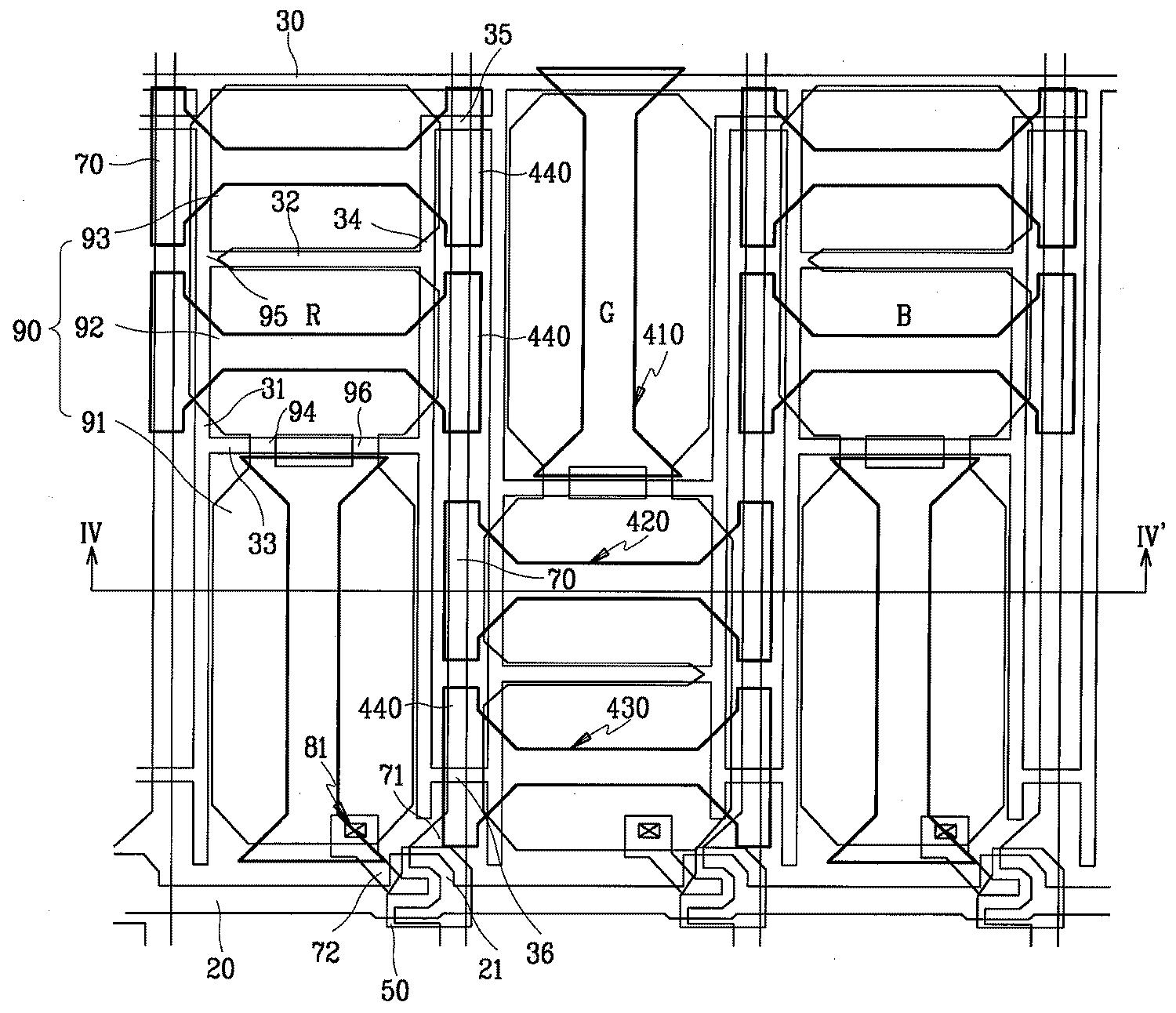
액정 표시 장치
授权日:
1900-01-01
公开(公告)号:
KR1020030046918A
申请日:
2001-12-07
公开(公告)日:
2003-06-18
当前申请(专利权)人:
삼성전자주식회사
发明人:
송장근
简单同族:
AU2002226789A1 | CN1333288C | CN1615450A | JP2003186029A | JP4393043B2 | KR100859508B1 | KR1020030046918A | TWI256495B | US20030107696A1 | US7016006 | WO2003048850A1 | WO2003048850A8
简单同族成员数量:
12
简单同族被引用专利总数:
91
诉讼案件数:
0
法律状态/事件:
未缴年费 | 权利转移