首页
专利数据库
产业人才
行业动态
产业政策法规
维权援助
个人中心
登录/注册
详情
文本
图像
标题:
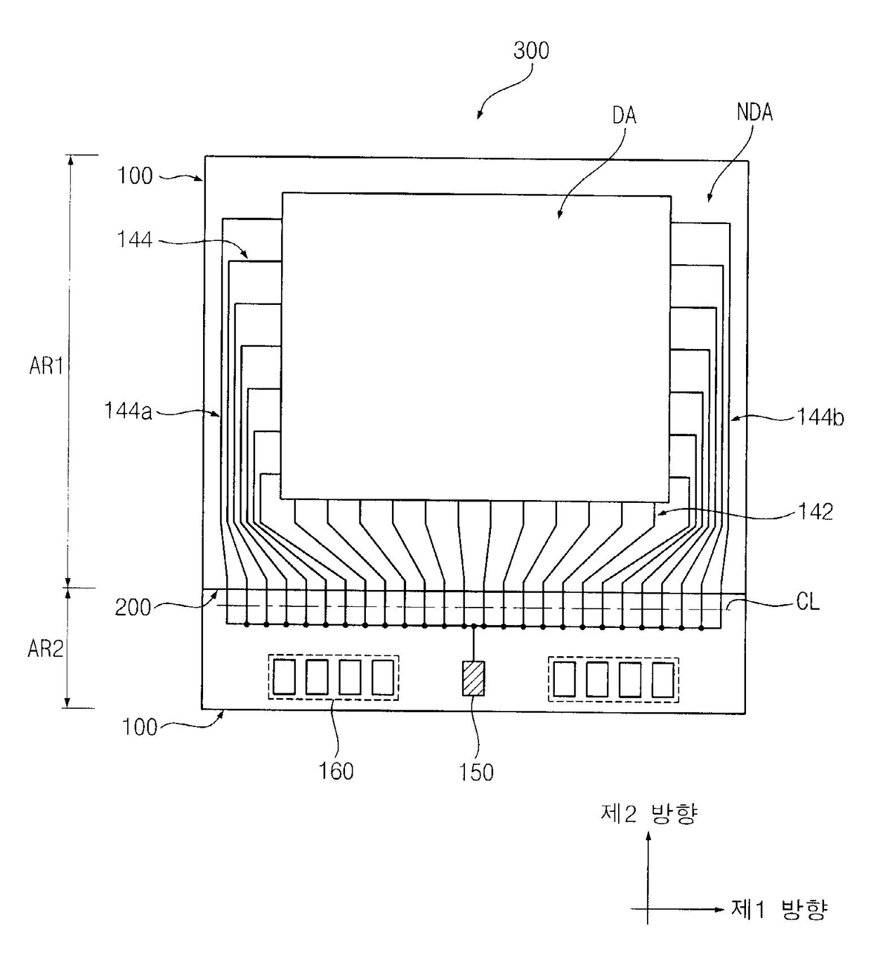
표시패널, 이의 검사방법 및 이의 제조방법
授权日:
1900-01-01
公开(公告)号:
KR1020080066308A
申请日:
2007-01-12
公开(公告)日:
2008-07-16
当前申请(专利权)人:
삼성전자주식회사
发明人:
권선자 | 전진 | 박용기
简单同族:
CN101231439A | CN101231439B | EP1944648A2 | EP1944648A3 | JP2008171000A | KR1020080066308A | US20080170195A1
简单同族成员数量:
7
简单同族被引用专利总数:
57
诉讼案件数:
0
法律状态/事件:
撤回