首页
专利数据库
产业人才
行业动态
产业政策法规
维权援助
个人中心
登录/注册
详情
文本
图像
标题:
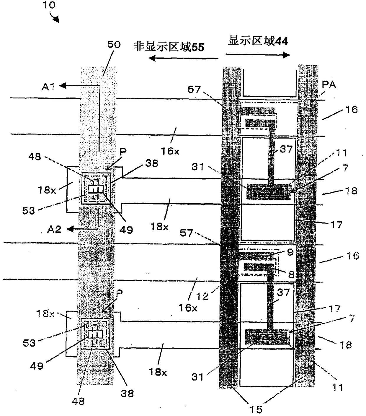
有源矩阵基板、液晶面板、显示装置、电视接收机
授权日:
1900-01-01
公开(公告)号:
CN102096259A
申请日:
2007-03-30
公开(公告)日:
2011-06-15
当前申请(专利权)人:
夏普株式会社
发明人:
津幡俊英 | 八木敏文
简单同族:
CN101421663A | CN101421663B | CN102096259A | CN102096259B | EP2042916A1 | EP2042916A4 | EP2383607A1 | EP2385422A1 | EP2385423A1 | JP4907659B2 | JPWO2008010334A1 | US20090091671A1 | US8330883 | WO2008010334A1
简单同族成员数量:
14
简单同族被引用专利总数:
52
诉讼案件数:
0
法律状态/事件:
授权