首页
专利数据库
产业人才
行业动态
产业政策法规
维权援助
个人中心
登录/注册
详情
文本
图像
标题:
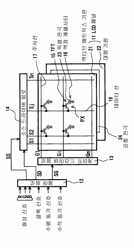
액정 표시 장치 및 그 구동 방법
授权日:
2006-07-11
公开(公告)号:
KR100602761B1
申请日:
2003-07-24
公开(公告)日:
2006-07-20
当前申请(专利权)人:
엔엘티 테크놀로지 가부시키가이샤
发明人:
TAKEMOTO,TAKAHIRO
简单同族:
CN100511392C | CN1261806C | CN1482507A | CN1770253A | JP2004061590A | JP3799307B2 | KR100602761B1 | KR1020040010372A | TW200402685A | TWI249724B | US20040017344A1
简单同族成员数量:
11
简单同族被引用专利总数:
91
诉讼案件数:
0
法律状态/事件:
未缴年费