首页
专利数据库
产业人才
行业动态
产业政策法规
维权援助
个人中心
登录/注册
详情
文本
图像
标题:
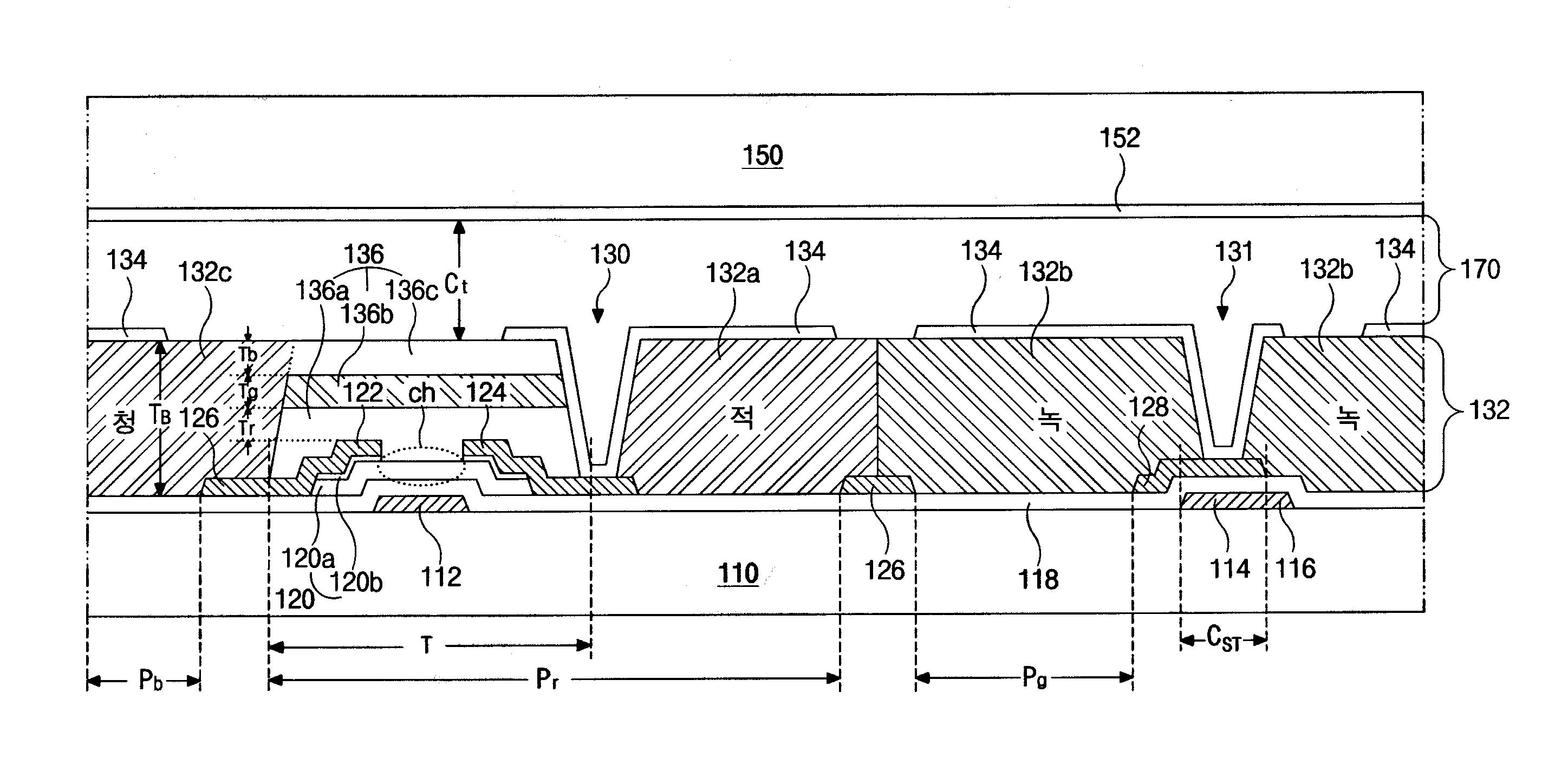
액정표시장치 및 그 제조방법
授权日:
1900-01-01
公开(公告)号:
KR1020040057798A
申请日:
2002-12-26
公开(公告)日:
2004-07-02
当前申请(专利权)人:
엘지디스플레이 주식회사
发明人:
김웅권 | 박승렬
简单同族:
CN1265233C | CN1512227A | GB0327846D0 | GB2396732A | GB2396732B | JP2004212972A | JP3878172B2 | KR100905409B1 | KR1020040057798A | TW200500753A | TWI304511B | US20040125277A1 | US20120099059A1 | US8107038 | US8233120
简单同族成员数量:
15
简单同族被引用专利总数:
105
诉讼案件数:
0
法律状态/事件:
授权