首页
专利数据库
产业人才
行业动态
产业政策法规
维权援助
个人中心
登录/注册
详情
文本
图像
标题:
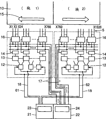
液晶显示装置
授权日:
2004-09-15
公开(公告)号:
CN1167042C
申请日:
2000-12-08
公开(公告)日:
2004-09-15
当前申请(专利权)人:
三菱电机株式会社 | 精工爱普生株式会社
发明人:
村井博之 | 石黑英人
简单同族:
CN1167042C | CN1299125A | JP2001166277A | JP3789066B2 | KR100411913B1 | KR1020010062117A | TW530280B | US20010003447A1 | US6683603
简单同族成员数量:
9
简单同族被引用专利总数:
94
诉讼案件数:
0
法律状态/事件:
未缴年费