首页
专利数据库
产业人才
行业动态
产业政策法规
维权援助
个人中心
登录/注册
详情
文本
图像
标题:
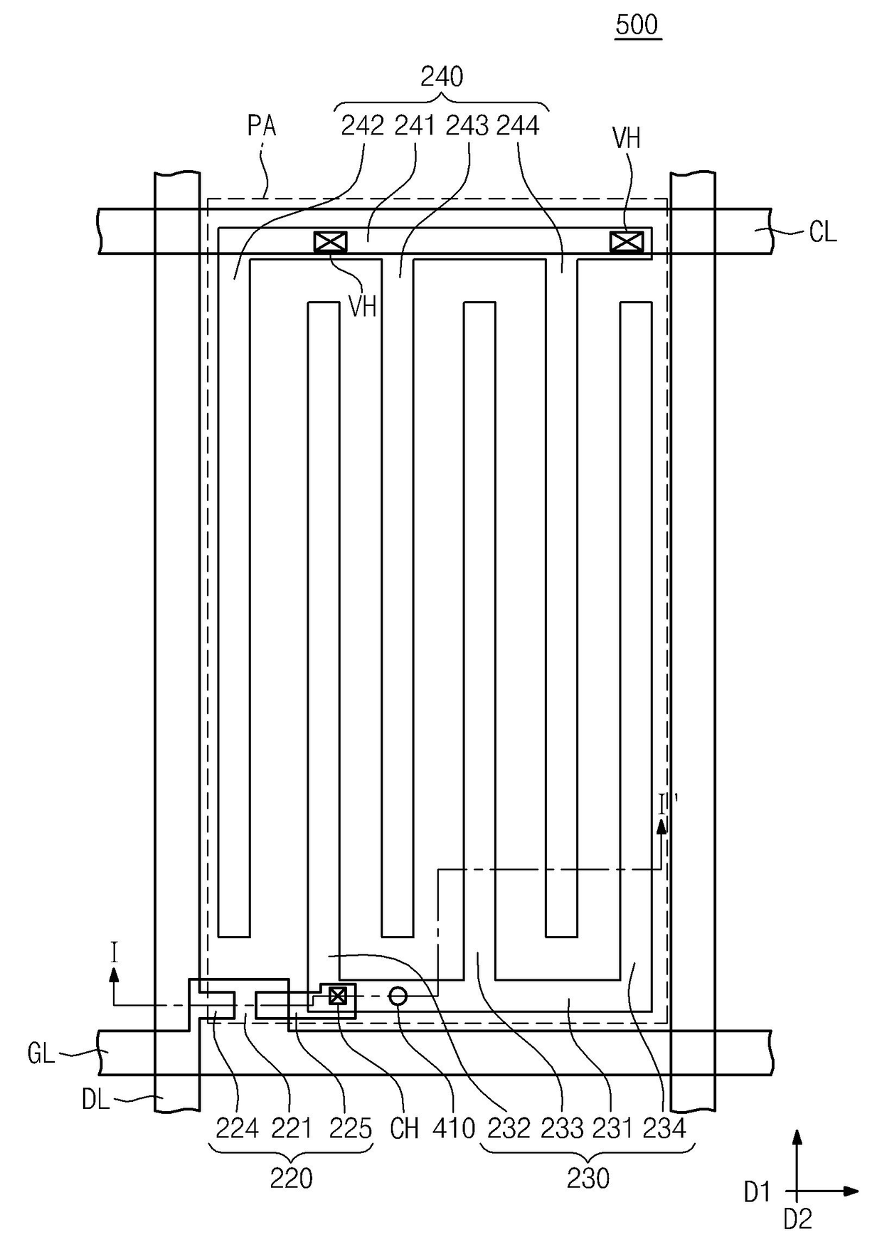
액정표시패널
授权日:
1900-01-01
公开(公告)号:
KR1020080050851A
申请日:
2006-12-04
公开(公告)日:
2008-06-10
当前申请(专利权)人:
삼성디스플레이 주식회사
发明人:
유혜란 | 유승후 | 강성민 | 도희욱 | 김훈 | 문현철
简单同族:
CN101196664A | KR1020080050851A | US20080129901A1 | US7830485
简单同族成员数量:
4
简单同族被引用专利总数:
97
诉讼案件数:
0
法律状态/事件:
驳回