标题:
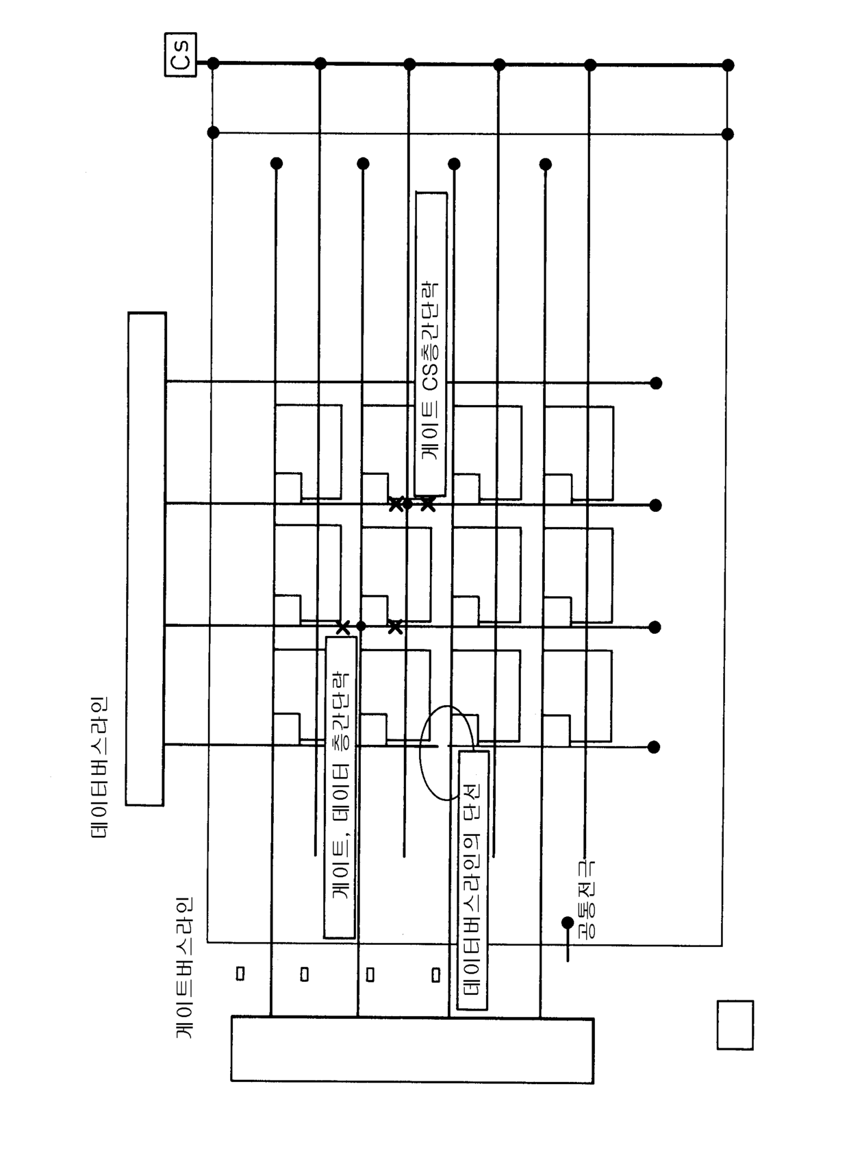
액정표시장치 및 그 제조 방법
授权日:
1900-01-01
公开(公告)号:
KR1020030028699A
申请日:
2002-04-24
公开(公告)日:
2003-04-10
当前申请(专利权)人:
샤프 가부시키가이샤
发明人:
이노우에히로야스 | 나가오카겐이치 | 나카하타유지 | 다니구치요지 | 후지카와데츠야 | 나카니시요헤이 | 하나오카가즈타카 | 이노우에유이치 | 시바사키마사카즈
简单同族:
CN101482679A | CN101482679B | JP2011100165A | JP2011215656A | JP4860002B2 | JP5642635B2 | KR100677836B1 | KR1020030028699A | TW594144B | US20030067579A1
简单同族成员数量:
10
简单同族被引用专利总数:
89
诉讼案件数:
0
法律状态/事件:
未缴年费