首页
专利数据库
产业人才
行业动态
产业政策法规
维权援助
个人中心
登录/注册
详情
文本
图像
标题:
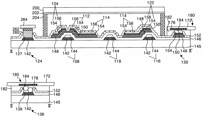
수평 전계 인가형 액정 표시 장치 및 그 제조 방법
授权日:
1900-01-01
公开(公告)号:
KR1020040086925A
申请日:
2003-04-03
公开(公告)日:
2004-10-13
当前申请(专利权)人:
엘지디스플레이 주식회사
发明人:
임병호 | 안병철
简单同族:
KR100602062B1 | KR1020040086925A | US20040195574A1 | US20070023753A1 | US7132689 | US7553708
简单同族成员数量:
6
简单同族被引用专利总数:
76
诉讼案件数:
0
法律状态/事件:
授权