首页
专利数据库
产业人才
行业动态
产业政策法规
维权援助
个人中心
登录/注册
详情
文本
图像
标题:
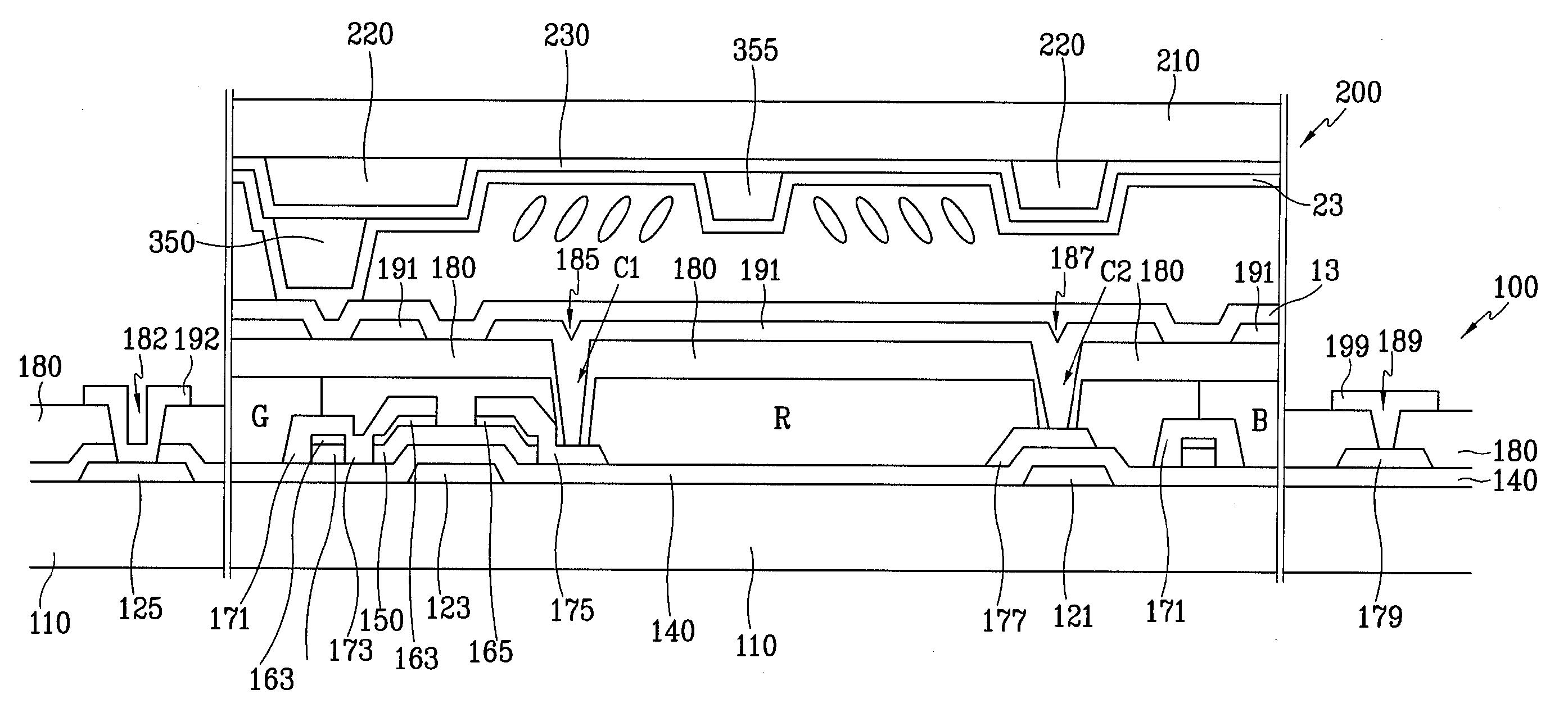
표시 장치용 표시판 및 그의 제조 방법과 그 표시판을포함하는 액정 표시 장치
授权日:
1900-01-01
公开(公告)号:
KR1020040081947A
申请日:
2003-03-17
公开(公告)日:
2004-09-23
当前申请(专利权)人:
삼성전자주식회사
发明人:
김동규 | 김시열 | 김상수
简单同族:
CN100437307C | CN1530721A | JP2004280110A | KR100945579B1 | KR1020040081947A | TW200500754A | US20040183989A1 | US20090225248A1 | US7538850
简单同族成员数量:
9
简单同族被引用专利总数:
59
诉讼案件数:
0
法律状态/事件:
授权 | 权利转移