首页
专利数据库
产业人才
行业动态
产业政策法规
维权援助
个人中心
登录/注册
详情
文本
图像
标题:
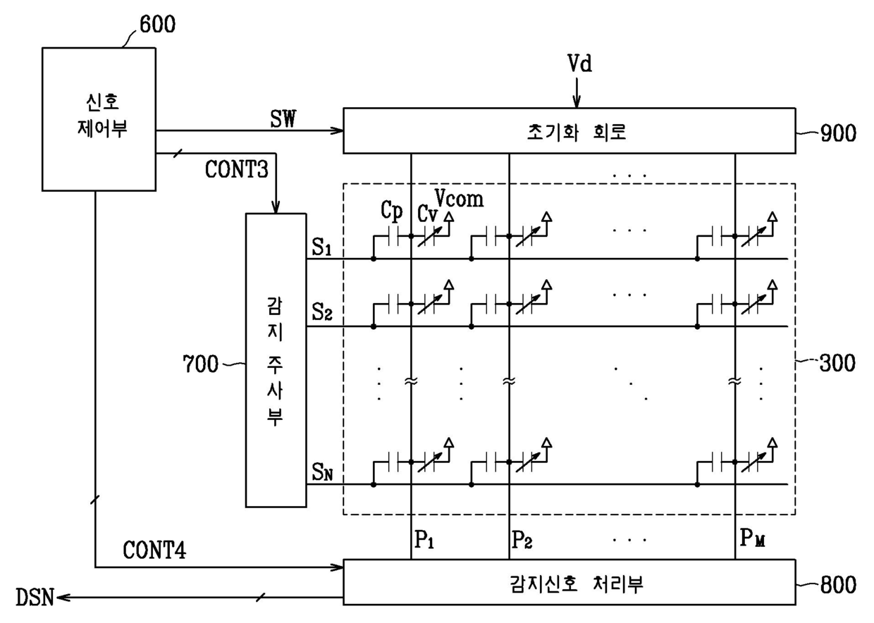
감지부를 내장한 액정 표시 장치
授权日:
1900-01-01
公开(公告)号:
KR1020070016564A
申请日:
2005-08-04
公开(公告)日:
2007-02-08
当前申请(专利权)人:
삼성전자주식회사
发明人:
박상진 | 이명우 | 어기한 | 이주형
简单同族:
CN1908744A | CN1908744B | JP2007041602A | JP2007041602A5 | JP4930876B2 | KR101152132B1 | KR1020070016564A | TW200710524A | TWI402588B | US20070030221A1 | US7692729
简单同族成员数量:
11
简单同族被引用专利总数:
88
诉讼案件数:
0
法律状态/事件:
授权 | 权利转移