首页
专利数据库
产业人才
行业动态
产业政策法规
维权援助
个人中心
登录/注册
详情
文本
图像
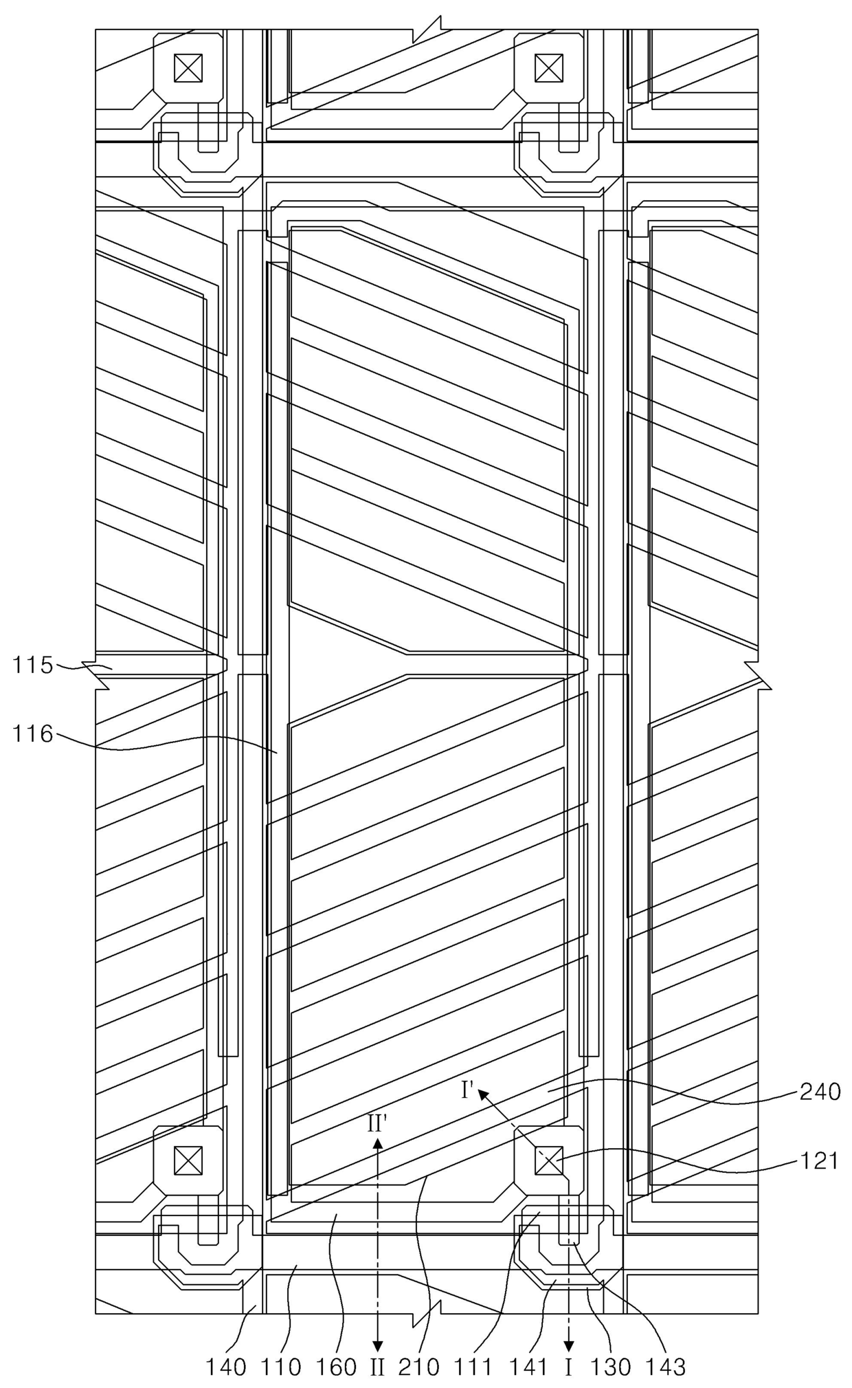
标题:
발명의 명칭 액정 표시 패널
授权日:
2014-08-01
公开(公告)号:
KR101427708B1
申请日:
2007-02-01
公开(公告)日:
2014-08-11
当前申请(专利权)人:
삼성디스플레이 주식회사
发明人:
권지현 | 이혁진 | 나병선 | 루지안강 | 기동현 | 우화성
简单同族:
CN101236339A | CN101236339B | EP1953589A2 | EP1953589A3 | EP1953589B1 | JP2008191664A | JP2008191664A5 | JP5475955B2 | KR101427708B1 | KR1020080072173A | US20080186439A1 | US8610863
简单同族成员数量:
12
简单同族被引用专利总数:
121
诉讼案件数:
0
法律状态/事件:
授权