首页
专利数据库
产业人才
行业动态
产业政策法规
维权援助
个人中心
登录/注册
详情
文本
图像
标题:
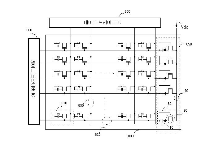
게이트 신호 지연 보상 액정 디스플레이 장치, 패널 및 방법
授权日:
1900-01-01
公开(公告)号:
KR1020020057408A
申请日:
2001-01-04
公开(公告)日:
2002-07-11
当前申请(专利权)人:
삼성전자주식회사
发明人:
박행원 | 이중희
简单同族:
CN100369098C | CN1363919A | EP1223571A2 | EP1223571A3 | JP2002236280A | JP4790926B2 | KR100796787B1 | KR1020020057408A | TWI240236B | US20020084968A1 | US7133034
简单同族成员数量:
11
简单同族被引用专利总数:
86
诉讼案件数:
0
法律状态/事件:
未缴年费 | 权利转移