首页
专利数据库
产业人才
行业动态
产业政策法规
维权援助
个人中心
登录/注册
详情
文本
图像
标题:
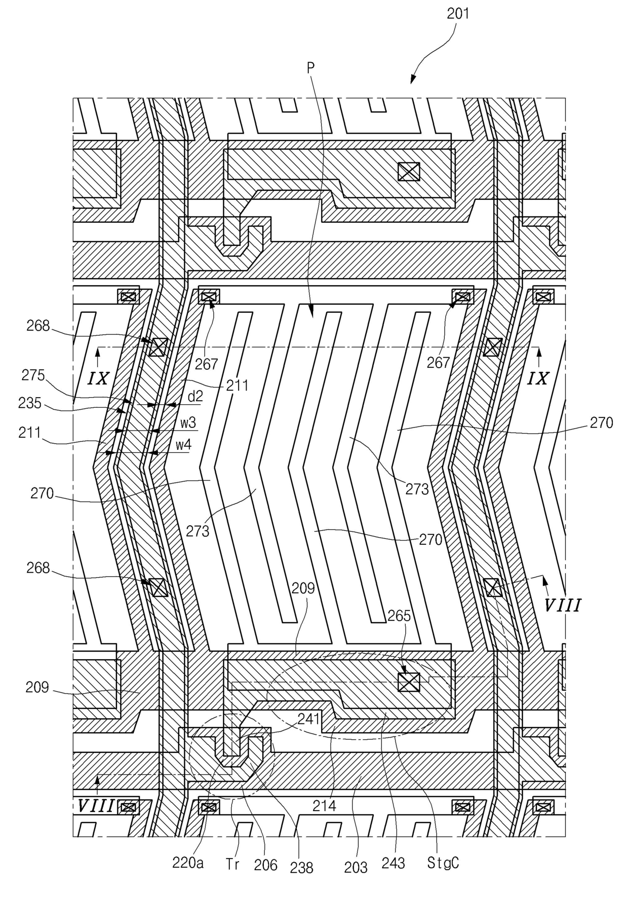
횡전계형 액정표시장치용 어레이 기판 및 이의 제조 방법
授权日:
1900-01-01
公开(公告)号:
KR1020070121122A
申请日:
2006-06-21
公开(公告)日:
2007-12-27
当前申请(专利权)人:
엘지디스플레이 주식회사
发明人:
서범식 | 김지원
简单同族:
CN101093329A | CN101093329B | KR101246719B1 | KR1020070121122A | US20070296901A1 | US20100265447A1 | US7764349 | US8013970
简单同族成员数量:
8
简单同族被引用专利总数:
104
诉讼案件数:
0
法律状态/事件:
授权