标题:
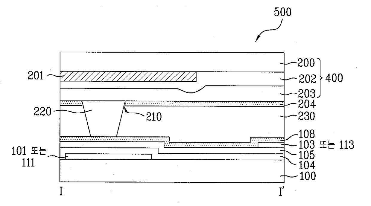
액정 표시 장치 및 이의 제조 방법
授权日:
1900-01-01
公开(公告)号:
KR1020060110936A
申请日:
2005-04-20
公开(公告)日:
2006-10-26
当前申请(专利权)人:
엘지디스플레이 주식회사
发明人:
YOON, SUNG HOE
简单同族:
CN1854867A | CN1854867B | DE102005060982A1 | DE102005060982B4 | FR2884935A1 | FR2884935B1 | GB0525056D0 | GB2425391A | GB2425391B | JP2006301575A | JP4496159B2 | KR1020060110936A | TW200638092A | TWI334500B | US20060238693A1 | US20100253894A1 | US7880855 | US7907242
简单同族成员数量:
18
简单同族被引用专利总数:
52
诉讼案件数:
0
法律状态/事件:
驳回 | 复审