首页
专利数据库
产业人才
行业动态
产业政策法规
维权援助
个人中心
登录/注册
详情
文本
图像
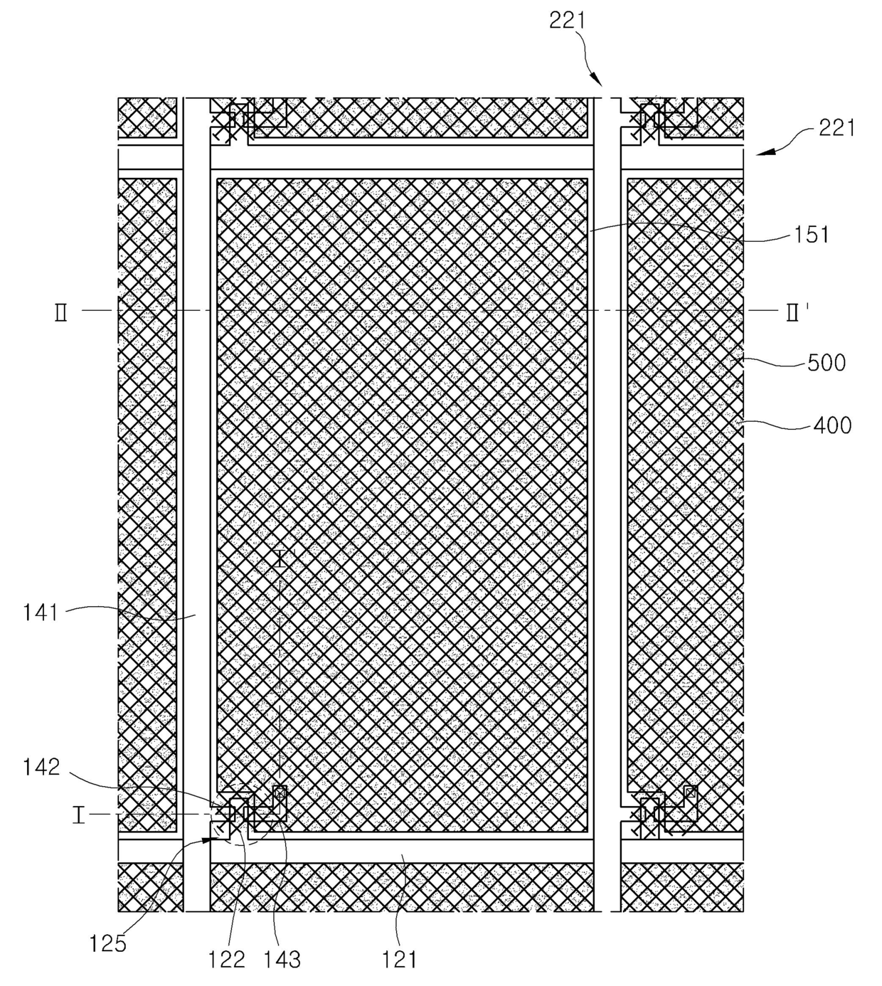
标题:
액정 표시 장치
授权日:
1900-01-01
公开(公告)号:
KR1020080037324A
申请日:
2006-10-26
公开(公告)日:
2008-04-30
当前申请(专利权)人:
삼성디스플레이 주식회사
发明人:
추대호 | 안양석 | 유연희
简单同族:
KR101282323B1 | KR1020080037324A | US20080100781A1 | US8081273
简单同族成员数量:
4
简单同族被引用专利总数:
85
诉讼案件数:
0
法律状态/事件:
授权