首页
专利数据库
产业人才
行业动态
产业政策法规
维权援助
个人中心
登录/注册
详情
文本
图像
标题:
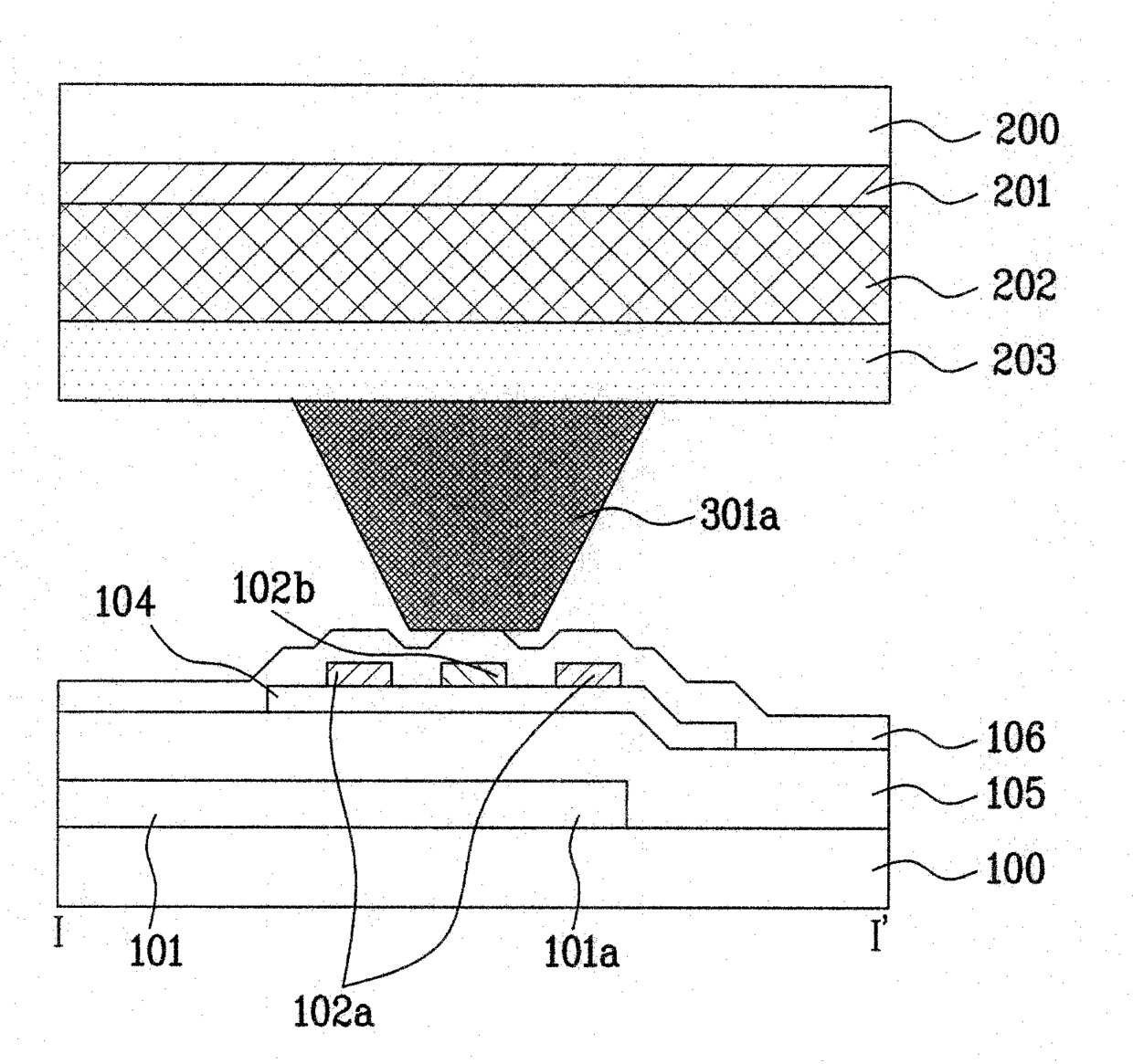
액정 표시 장치
授权日:
2006-10-25
公开(公告)号:
KR100641002B1
申请日:
2004-04-30
公开(公告)日:
2006-11-02
当前申请(专利权)人:
엘지디스플레이 주식회사
发明人:
김종우 | 유원형
简单同族:
CN100428032C | CN1693974A | JP2005316375A | JP4030123B2 | KR100641002B1 | KR1020050105529A | US20050243262A1 | US7656496
简单同族成员数量:
8
简单同族被引用专利总数:
82
诉讼案件数:
0
法律状态/事件:
授权