首页
专利数据库
产业人才
行业动态
产业政策法规
维权援助
个人中心
登录/注册
详情
文本
图像
标题:
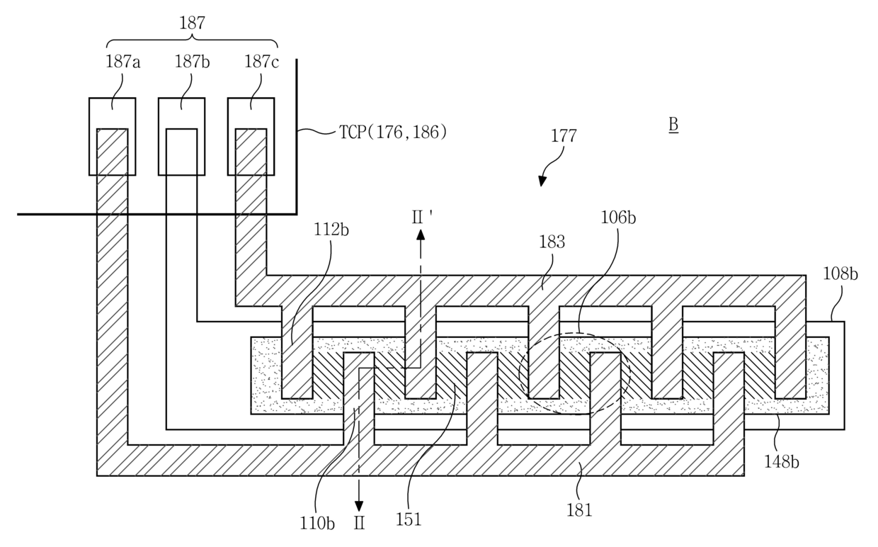
액정표시장치와 그의 제조 및 구동방법
授权日:
1900-01-01
公开(公告)号:
KR1020070069789A
申请日:
2005-12-28
公开(公告)日:
2007-07-03
当前申请(专利权)人:
엘지디스플레이 주식회사
发明人:
추교섭 | 강희광
简单同族:
CN100492123C | CN1991501A | JP2007178982A | JP4863269B2 | KR101256663B1 | KR1020070069789A | US20070146296A1 | US20110187954A1 | US7944429 | US8524516
简单同族成员数量:
10
简单同族被引用专利总数:
55
诉讼案件数:
0
法律状态/事件:
授权