首页
专利数据库
产业人才
行业动态
产业政策法规
维权援助
个人中心
登录/注册
详情
文本
图像
标题:
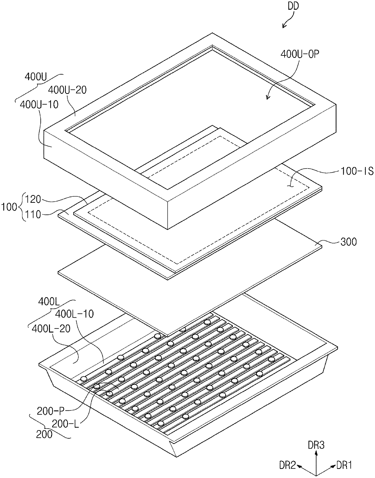
Display device
授权日:
1900-01-01
公开(公告)号:
US20200225521A1
申请日:
2019-12-30
公开(公告)日:
2020-07-16
当前申请(专利权)人:
SAMSUNG DISPLAY CO., LTD.
发明人:
LEE, SANG-GIL | PARK, JINHO | SON, DONGIL | KIM, NAMHEON | KIM, TAEGYUN
简单同族:
US20200225521A1
简单同族成员数量:
1
简单同族被引用专利总数:
0
诉讼案件数:
0
法律状态/事件:
公开