首页
专利数据库
产业人才
行业动态
产业政策法规
维权援助
个人中心
登录/注册
详情
文本
图像
标题:
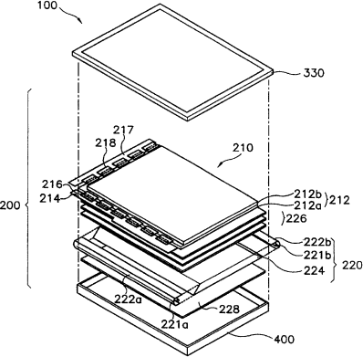
背光组件与具有此组件的液晶显示器
授权日:
2007-05-23
公开(公告)号:
CN1317586C
申请日:
2001-07-10
公开(公告)日:
2007-05-23
当前申请(专利权)人:
三星显示有限公司
发明人:
车奎昊 | 姜声勇 | 张世仁
简单同族:
CN1317586C | CN1376943A | JP2002298630A | JP4744010B2 | KR100769922B1 | KR1020020075588A | TW526362B | US20020191387A1 | US20050002176A1 | US6779902 | US7220043
简单同族成员数量:
11
简单同族被引用专利总数:
73
诉讼案件数:
0
法律状态/事件:
授权 | 权利转移