首页
专利数据库
产业人才
行业动态
产业政策法规
维权援助
个人中心
登录/注册
详情
文本
图像
标题:
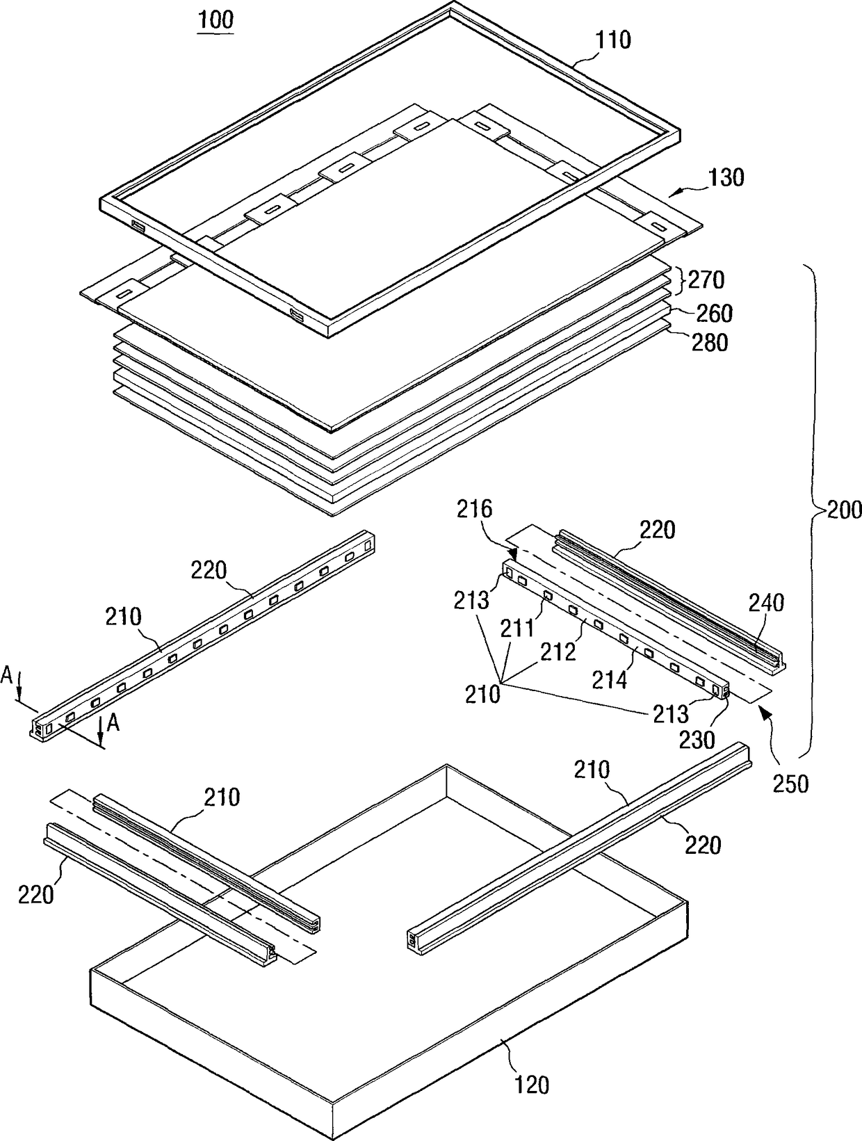
背光单元和具有该背光单元的液晶显示器
授权日:
2015-01-14
公开(公告)号:
CN101684908B
申请日:
2009-05-13
公开(公告)日:
2015-01-14
当前申请(专利权)人:
三星电子株式会社
发明人:
朴宰贤 | 郑明烈 | 车荣德 | 朴埈石
简单同族:
AT534934T | CN101684908A | CN101684908B | EP2169458A1 | EP2169458B1 | EP2397888A1 | EP2397888B1 | KR101569154B1 | KR1020100035624A | TW201027189A | US20100079697A1 | US8384846
简单同族成员数量:
12
简单同族被引用专利总数:
51
诉讼案件数:
0
法律状态/事件:
授权