标题:
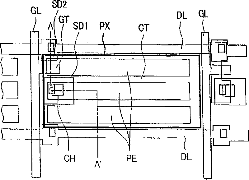
Liquid crystal display device having rectangular-shaped pixel electrodes overlapping with comb-shaped counter electrodes in plan view
授权日:
1900-01-01
公开(公告)号:
US20150205175A1
申请日:
2015-04-02
公开(公告)日:
2015-07-23
当前申请(专利权)人:
PANASONIC LIQUID CRYSTAL DISPLAY CO., LTD. | JAPAN DISPLAY INC.
发明人:
OCHIAI, TAKAHIRO | SASAKI, TOHRU | IMAYAMA, HIROTAKA | MORIMOTO, MASATERU
简单同族:
CN1940650A | JP2007086657A | JP4623464B2 | US10254600 | US20070070266A1 | US20100002174A1 | US20110234959A1 | US20120133877A1 | US20130070177A1 | US20150205175A1 | US20170343870A1 | US20190196278A1 | US7605898 | US7961286 | US8134673 | US8334957 | US9785020
简单同族成员数量:
17
简单同族被引用专利总数:
101
诉讼案件数:
0
法律状态/事件:
授权 | 权利转移