首页
专利数据库
产业人才
行业动态
产业政策法规
维权援助
个人中心
登录/注册
详情
文本
图像
标题:
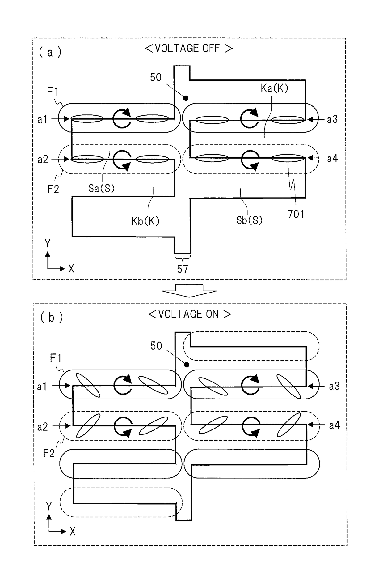
Display device and electronic apparatus
授权日:
2019-02-26
公开(公告)号:
US10216024
申请日:
2017-07-26
公开(公告)日:
2019-02-26
当前申请(专利权)人:
JAPAN DISPLAY INC.
发明人:
MATSUSHIMA, TOSHIHARU
简单同族:
JP2014102499A | JP6141748B2 | US10216024 | US20140118639A1 | US20170322441A1 | US20190146255A1 | US9746706
简单同族成员数量:
7
简单同族被引用专利总数:
73
诉讼案件数:
0
法律状态/事件:
授权 | 权利转移