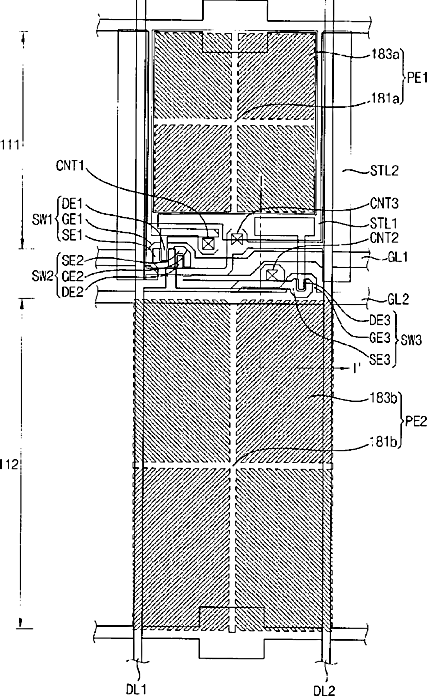
标题:
Display substrate, method of manufacturing the same and method of manufacturing display panel
授权日:
1900-01-01
公开(公告)号:
US20130128197A1
申请日:
2013-01-23
公开(公告)日:
2013-05-23
当前申请(专利权)人:
SAMSUNG DISPLAY CO., LTD.
发明人:
LEE, JUN-HYUP | LYU, JAE-JIN
简单同族:
KR101604650B1 | KR1020110045480A | US20110096259A1 | US20130128197A1 | US20160209717A1 | US8377614 | US9329421 | US9823524
简单同族成员数量:
8
简单同族被引用专利总数:
53
诉讼案件数:
0
法律状态/事件:
授权