标题:
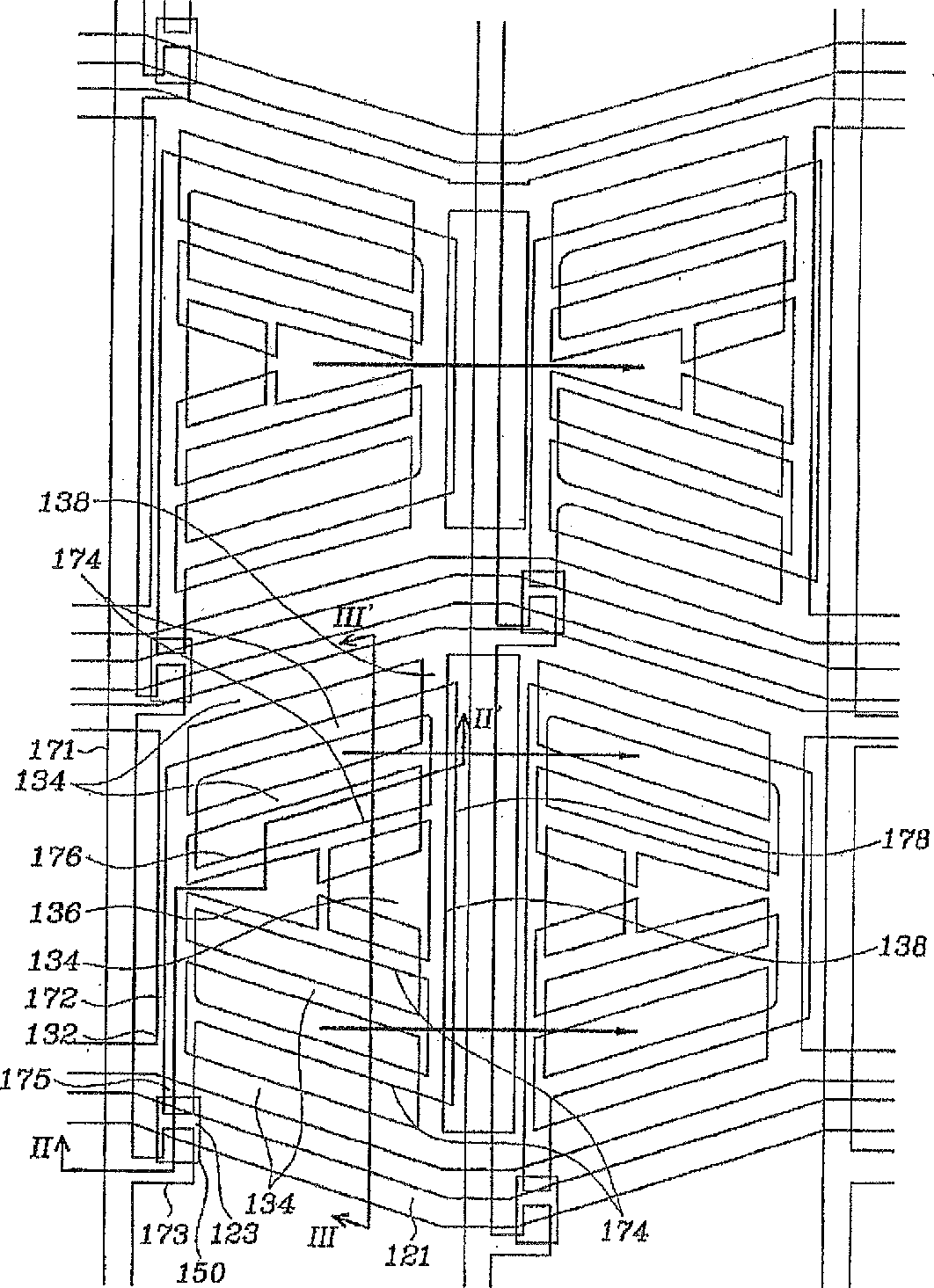
Thin film transistor array panel for liquid crystal display
授权日:
1900-01-01
公开(公告)号:
US20110216279A1
申请日:
2011-05-16
公开(公告)日:
2011-09-08
当前申请(专利权)人:
SAMSUNG DISPLAY CO., LTD.
发明人:
LEE, CHANG-HUN | HAN, EUN-HEE | CHANG, HAK-SUN
简单同族:
CN100470339C | CN1523435A | JP2004185011A | JP2011203763A | JP5552463B2 | KR100920344B1 | KR1020040048518A | TW200422743A | TWI342977B | US20040109099A1 | US20080088786A1 | US20100039599A1 | US20110216279A1 | US7317503 | US7609351 | US7944537 | US8467025
简单同族成员数量:
17
简单同族被引用专利总数:
72
诉讼案件数:
0
法律状态/事件:
授权 | 权利转移