首页
专利数据库
产业人才
行业动态
产业政策法规
维权援助
个人中心
登录/注册
详情
文本
图像
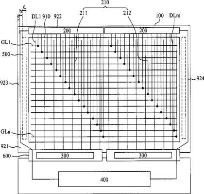
标题:
Liquid crystal display device
授权日:
2017-05-09
公开(公告)号:
US9646559
申请日:
2013-08-06
公开(公告)日:
2017-05-09
当前申请(专利权)人:
LG DISPLAY CO., LTD.
发明人:
MIN, WOONG KI | BAEK, HEUM SEOK | SON, MI YOUNG | KIM, HO JUNE | PARK, YOON SAN | PARK, SUNG GON
简单同族:
CN103578443A | CN103578443B | US20140043306A1 | US9646559
简单同族成员数量:
4
简单同族被引用专利总数:
60
诉讼案件数:
0
法律状态/事件:
授权 | 权利转移