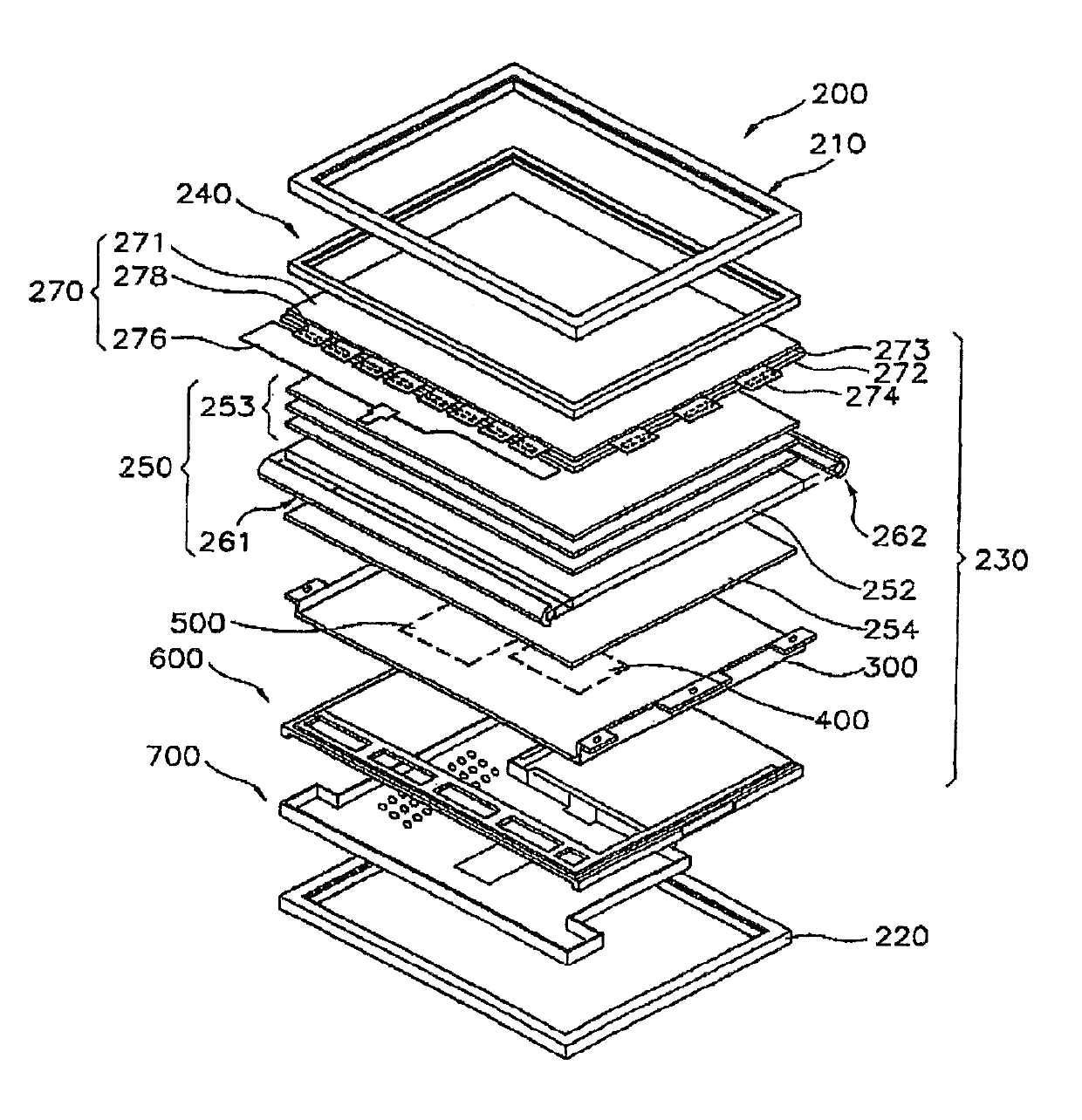
标题:
Liquid crystal display device
授权日:
2019-04-30
公开(公告)号:
USR47371
申请日:
2013-11-04
公开(公告)日:
2019-04-30
当前申请(专利权)人:
SAMSUNG DISPLAY CO., LTD.
发明人:
HA, JIN-HO | CHANG, SE-IN
简单同族:
CN1262868C | CN1396479A | JP2003029649A | JP4189147B2 | KR100783609B1 | KR1020030005660A | TW535493B | US20030011736A1 | US20050116913A1 | US20060203174A1 | US6894757 | US7098984 | US7248327 | USR44574 | USR47371
简单同族成员数量:
15
简单同族被引用专利总数:
155
诉讼案件数:
0
法律状态/事件:
授权