首页
专利数据库
产业人才
行业动态
产业政策法规
维权援助
个人中心
登录/注册
详情
文本
图像
标题:
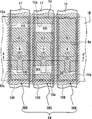
液晶显示装置及电子设备
授权日:
2008-06-25
公开(公告)号:
CN100397152C
申请日:
2004-04-21
公开(公告)日:
2008-06-25
当前申请(专利权)人:
京东方科技集团股份有限公司
发明人:
饭岛千代明 | 和田启志
简单同族:
CN100397152C | CN1540393A | JP2004325528A | JP3918765B2 | KR100648754B1 | KR1020040091561A | TW200424658A | TWI257501B | US20040246414A1 | US20060274243A1 | US7176997 | US7321410
简单同族成员数量:
12
简单同族被引用专利总数:
73
诉讼案件数:
0
法律状态/事件:
授权 | 权利转移