首页
专利数据库
产业人才
行业动态
产业政策法规
维权援助
个人中心
登录/注册
详情
文本
图像
标题:
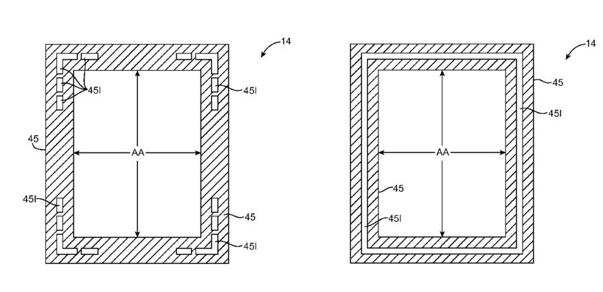
Displays with light-curable sealant
授权日:
2015-03-17
公开(公告)号:
US8982310
申请日:
2011-12-15
公开(公告)日:
2015-03-17
当前申请(专利权)人:
APPLE INC.
发明人:
JAMSHIDI ROUDBARI, ABBAS | PARK, YOUNG-BAE | CHANG, SHIH-CHANG
简单同族:
US20130154949A1 | US8982310
简单同族成员数量:
2
简单同族被引用专利总数:
49
诉讼案件数:
0
法律状态/事件:
授权 | 权利转移