标题:
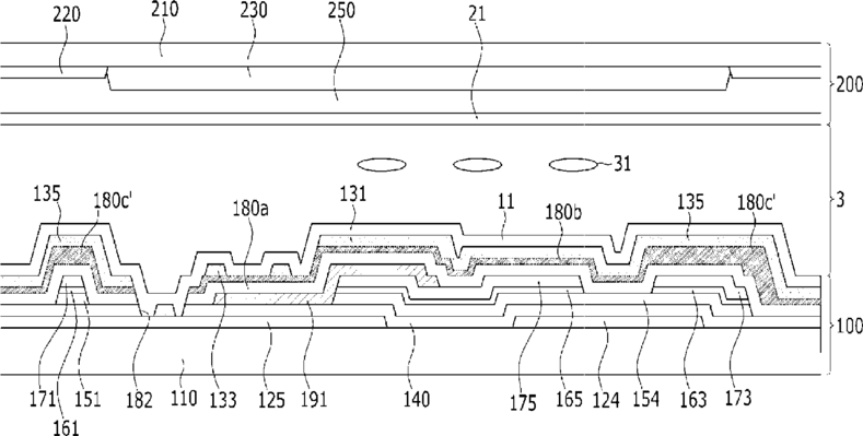
Liquid crystal display and manufacturing method thereof
授权日:
2017-03-07
公开(公告)号:
US9588385
申请日:
2013-12-20
公开(公告)日:
2017-03-07
当前申请(专利权)人:
SAMSUNG DISPLAY CO., LTD.
发明人:
KIM, SUNG-HOON | UM, YOON-SUNG | YEOM, JOO-SEOK
简单同族:
CN102540596A | CN102540596B | JP2012141579A | JP2016006539A | JP2017090937A | JP6022151B2 | JP6100851B2 | JP6404379B2 | TW201232131A | TWI559061B | US20120169985A1 | US20140104531A1 | US8659734 | US9588385
简单同族成员数量:
14
简单同族被引用专利总数:
50
诉讼案件数:
0
法律状态/事件:
授权