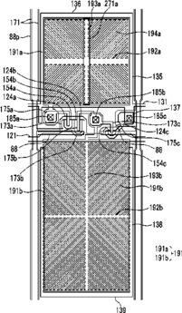
标题:
Liquid crystal display comprising a pixel electrode having a transverse stem, a longitudinal stem, and a plurality of minute branches
授权日:
2017-05-16
公开(公告)号:
US9651834
申请日:
2016-05-02
公开(公告)日:
2017-05-16
当前申请(专利权)人:
SAMSUNG DISPLAY CO., LTD.
发明人:
CHANG, HAK SUN | RYU, JANG WI | SHIN, KI CHUL | JANG, JAE-SOO
简单同族:
KR101931699B1 | KR1020140021105A | US10520777 | US20140043571A1 | US20160054628A1 | US20160246133A1 | US20170248826A1 | US20200089063A1 | US9213209 | US9329442 | US9651834
简单同族成员数量:
11
简单同族被引用专利总数:
51
诉讼案件数:
0
法律状态/事件:
授权