首页
专利数据库
产业人才
行业动态
产业政策法规
维权援助
个人中心
登录/注册
详情
文本
图像
标题:
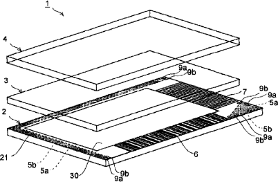
液晶显示面板及其检查方法
授权日:
1900-01-01
公开(公告)号:
CN101652705A
申请日:
2007-12-13
公开(公告)日:
2010-02-17
当前申请(专利权)人:
夏普株式会社
发明人:
木田和寿
简单同族:
CN101652705A | CN101652705B | US20100134137A1 | WO2008136153A1
简单同族成员数量:
4
简单同族被引用专利总数:
53
诉讼案件数:
0
法律状态/事件:
授权