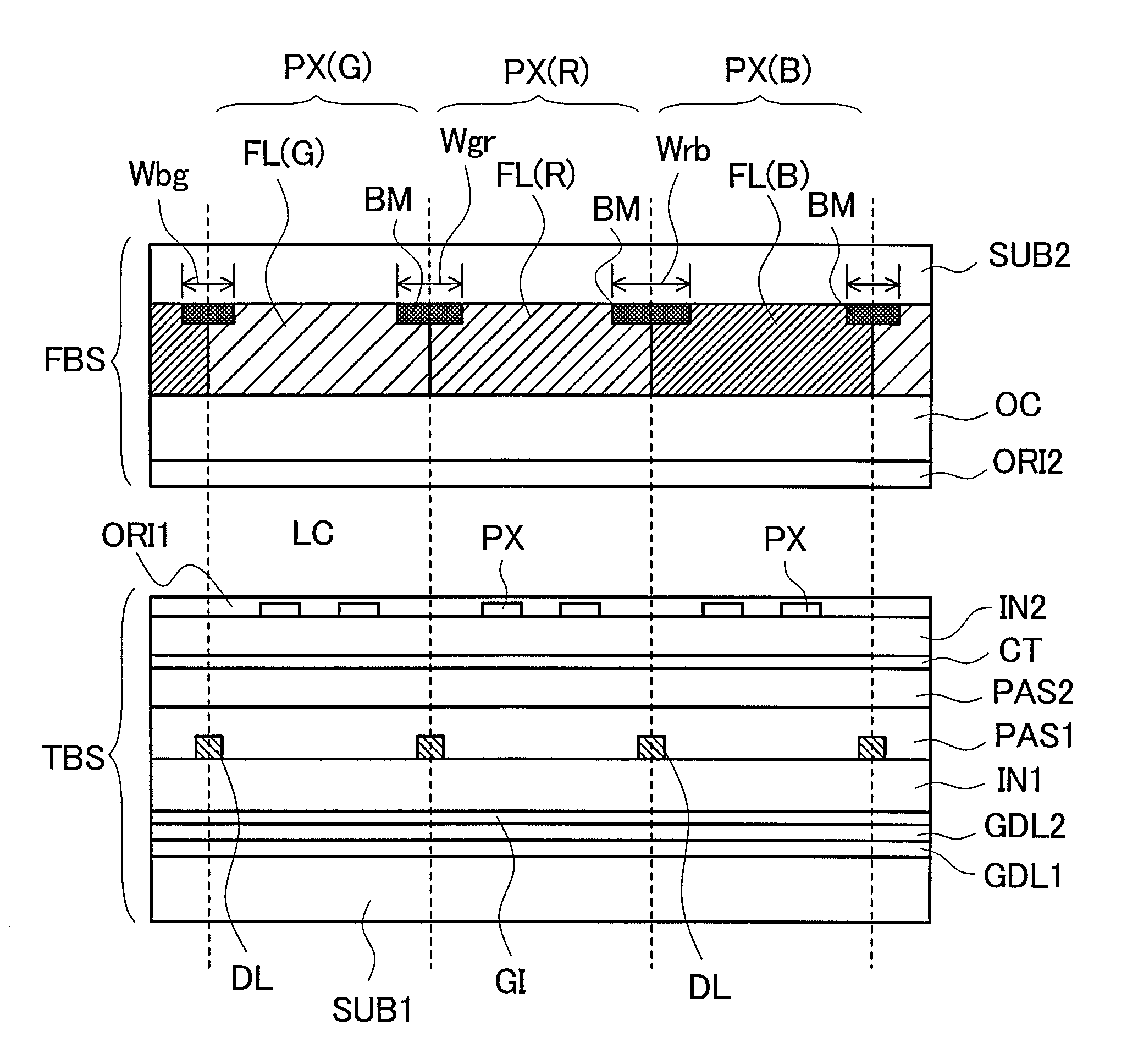
标题:
Liquid crystal display device
授权日:
2016-11-01
公开(公告)号:
US9482894
申请日:
2014-05-28
公开(公告)日:
2016-11-01
当前申请(专利权)人:
JAPAN DISPLAY INC. | PANASONIC LIQUID CRYSTAL DISPLAY CO., LTD.
发明人:
OCHIAI, TAKAHIRO | SASAKI, TOHRU | ITO, OSAMU
简单同族:
JP2010014760A | JP2010014760A5 | JP5301895B2 | US20100001939A1 | US20120327340A1 | US20130194531A1 | US20140267963A1 | US20170017111A1 | US8269925 | US8395730 | US8749739 | US9482894 | US9983429
简单同族成员数量:
13
简单同族被引用专利总数:
78
诉讼案件数:
0
法律状态/事件:
授权