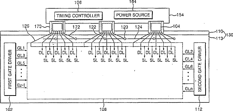
标题:
Horizontal stripe liquid crystal display device
授权日:
1900-01-01
公开(公告)号:
US20120306733A1
申请日:
2012-08-14
公开(公告)日:
2012-12-06
当前申请(专利权)人:
SAMSUNG DISPLAY CO., LTD.
发明人:
KIM, DONG GYU | CHANG, JONG WOON
简单同族:
CN101017293A | CN101017293B | CN101819364A | CN101819364B | JP2007213063A | JP2007213063A5 | JP4960716B2 | KR101300683B1 | KR1020070080051A | US10185195 | US20070182909A1 | US20090128470A1 | US20120306733A1 | US20140078430A1 | US20150362814A1 | US20170343877A1 | US7495737 | US8259047 | US8564516 | US9116401 | US9753346
简单同族成员数量:
21
简单同族被引用专利总数:
88
诉讼案件数:
0
法律状态/事件:
授权