首页
专利数据库
产业人才
行业动态
产业政策法规
维权援助
个人中心
登录/注册
详情
文本
图像
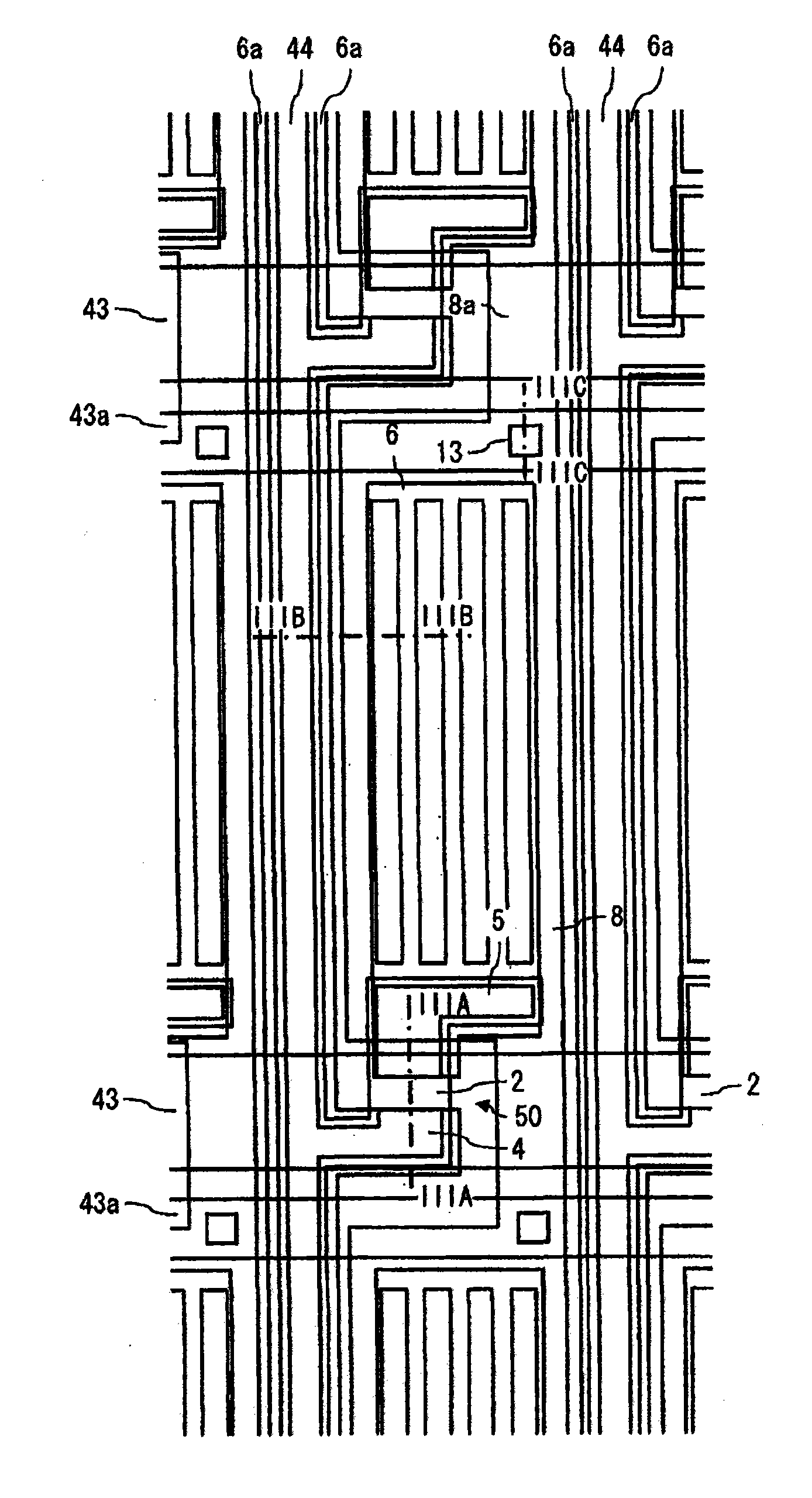
标题:
薄膜晶体管阵列基板、其制造方法、及液晶显示装置
授权日:
1900-01-01
公开(公告)号:
CN101788738A
申请日:
2010-01-22
公开(公告)日:
2010-07-28
当前申请(专利权)人:
三菱电机株式会社
发明人:
永野慎吾 | 升谷雄一
简单同族:
CN101788738A | CN101788738B | CN102540605A | CN102540605B | JP2010191410A | JP5646162B2 | KR101108943B1 | KR1020100086945A | US20100187532A1 | US8451395
简单同族成员数量:
10
简单同族被引用专利总数:
62
诉讼案件数:
0
法律状态/事件:
授权