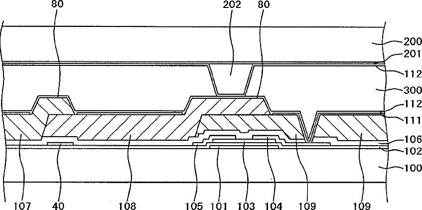
标题:
Manufacturing Method of Liquid Crystal Display Device
授权日:
1900-01-01
公开(公告)号:
US20130203313A1
申请日:
2013-03-13
公开(公告)日:
2013-08-08
当前申请(专利权)人:
JAPAN DISPLAY INC. | PANASONIC LIQUID CRYSTAL DISPLAY CO., LTD.
发明人:
GOTOH, JUN
简单同族:
JP2010281925A | JP5553531B2 | US20100309416A1 | US20120287383A1 | US20130203313A1 | US20140354925A1 | US8233119 | US8421964 | US8823906 | US9036116
简单同族成员数量:
10
简单同族被引用专利总数:
76
诉讼案件数:
0
法律状态/事件:
授权