首页
专利数据库
产业人才
行业动态
产业政策法规
维权援助
个人中心
登录/注册
详情
文本
图像
标题:
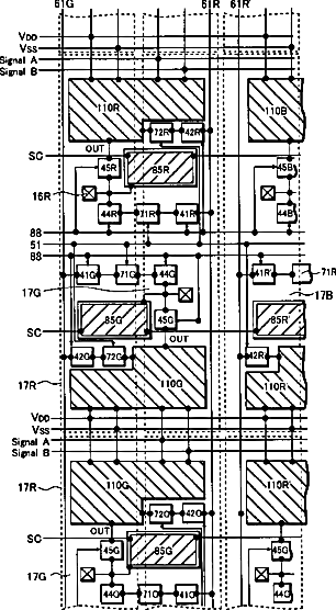
Active matrix display device
授权日:
2004-11-30
公开(公告)号:
US6825834
申请日:
2001-11-06
公开(公告)日:
2004-11-30
当前申请(专利权)人:
SANYO ELECTRIC CO., LTD.
发明人:
MIYAJIMA, YASUSHI
简单同族:
EP1204089A1 | EP1204089B1 | EP1575024A1 | US20020057266A1 | US6825834
简单同族成员数量:
5
简单同族被引用专利总数:
52
诉讼案件数:
0
法律状态/事件:
授权 | 权利转移