首页
专利数据库
产业人才
行业动态
产业政策法规
维权援助
个人中心
登录/注册
详情
文本
图像
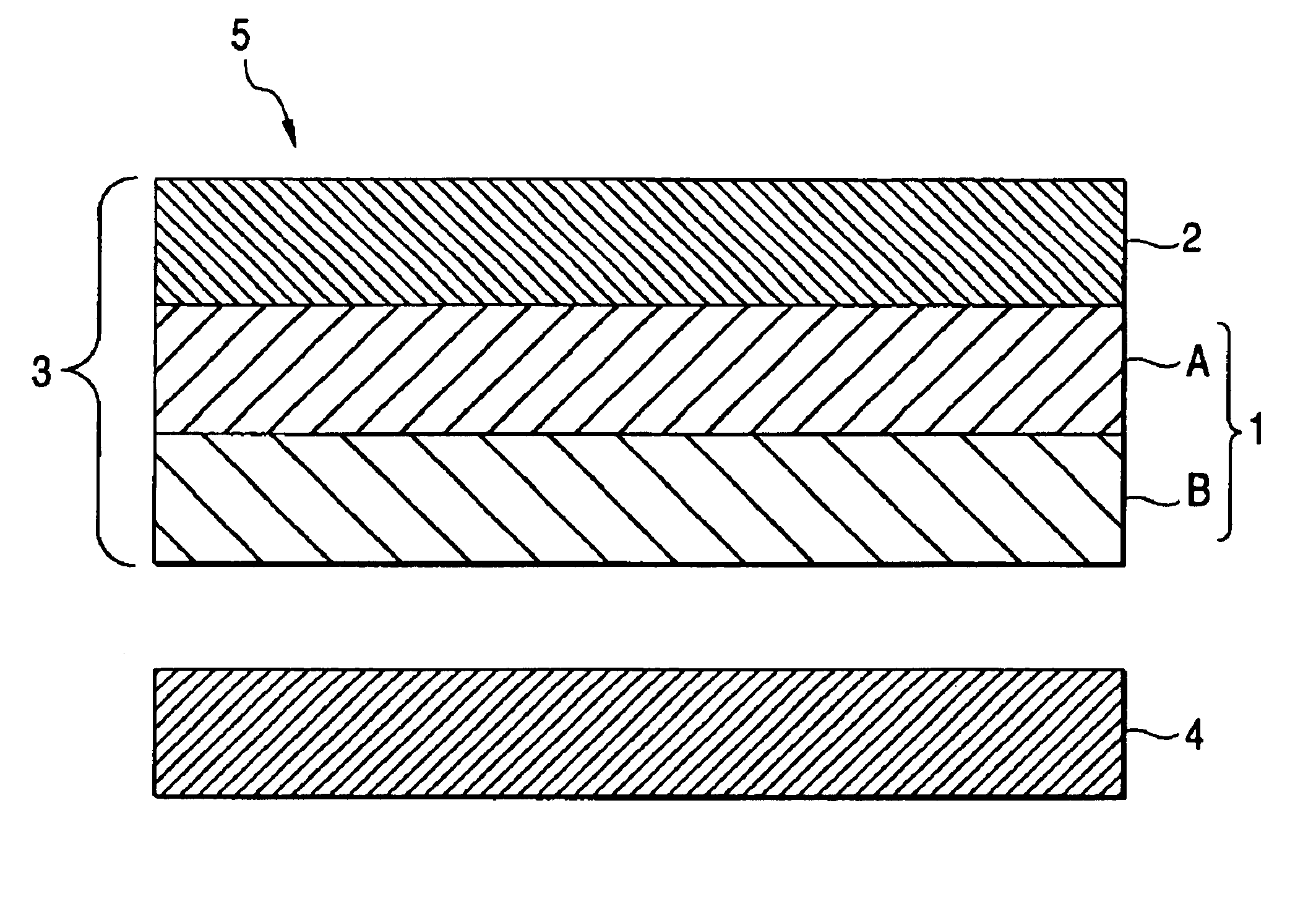
标题:
Optical film, polarizer and display device
授权日:
2004-09-21
公开(公告)号:
US6795246
申请日:
2002-07-16
公开(公告)日:
2004-09-21
当前申请(专利权)人:
NITTO DENKO CORPORATION
发明人:
YANO, SHUUJI | UMEMOTO, SEIJI
简单同族:
JP2003029038A | KR100724905B1 | KR1020030007220A | TW546493B | US20030016446A1 | US6795246
简单同族成员数量:
6
简单同族被引用专利总数:
82
诉讼案件数:
0
法律状态/事件:
授权 | 权利转移