首页
专利数据库
产业人才
行业动态
产业政策法规
维权援助
个人中心
登录/注册
详情
文本
图像
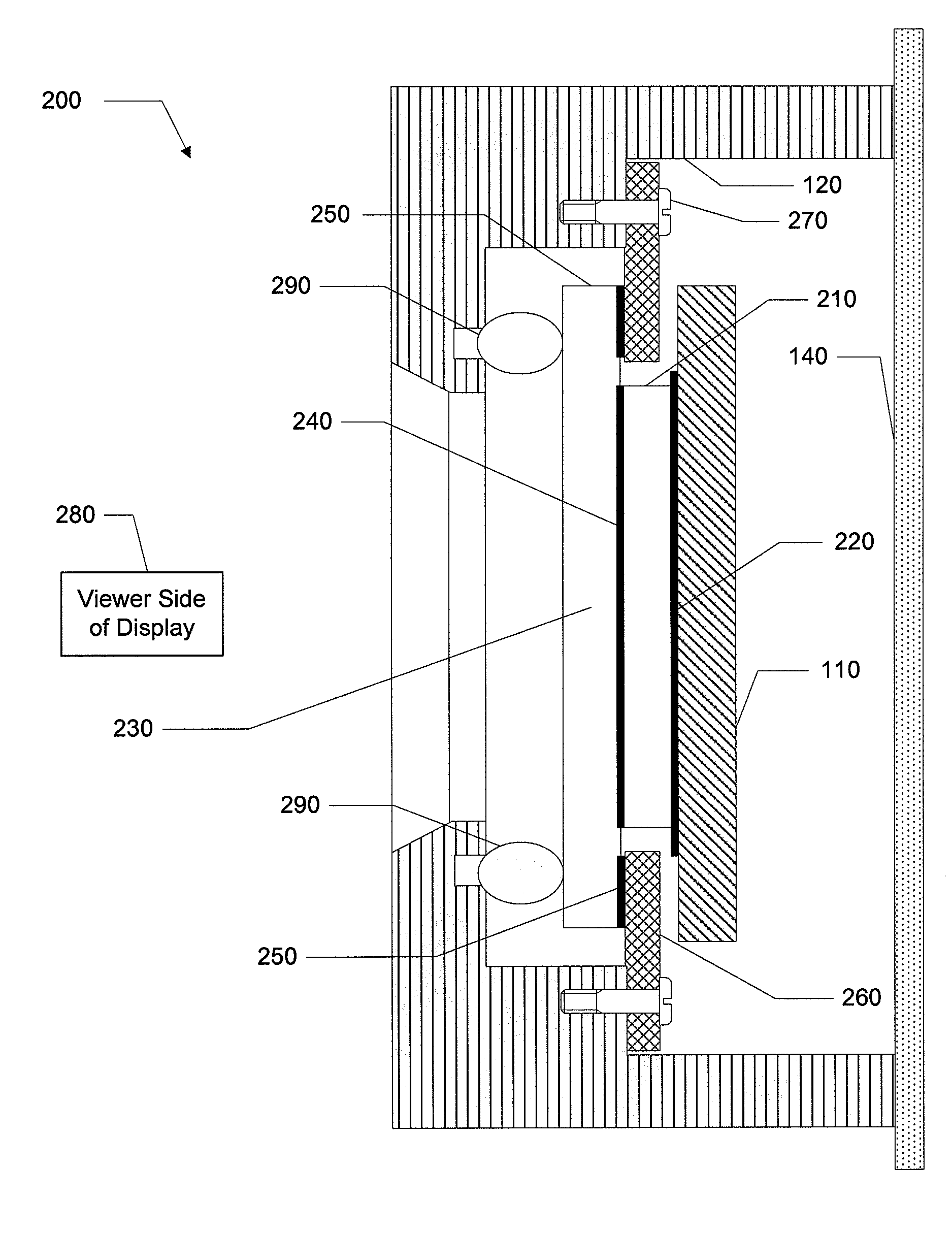
标题:
Low stress mounting support for ruggedized displays
授权日:
1900-01-01
公开(公告)号:
US20100066936A1
申请日:
2008-09-16
公开(公告)日:
2010-03-18
当前申请(专利权)人:
GENERAL DYNAMICS LAND SYSTEMS
发明人:
GARRETT, DAVID A. | VERGITH, NICHOLAS D.
简单同族:
US20100066936A1 | US7978281 | WO2010033166A1
简单同族成员数量:
3
简单同族被引用专利总数:
109
诉讼案件数:
0
法律状态/事件:
未缴年费 | 权利转移