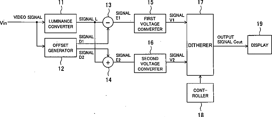
标题:
Image Display Device and Image Display Method
授权日:
1900-01-01
公开(公告)号:
US20080272998A1
申请日:
2005-07-15
公开(公告)日:
2008-11-06
当前申请(专利权)人:
SONY CORPORATION
发明人:
YANO, TOMOYA | SHIROCHI, YOSHIKI | ISOBE, TOSHINOBU | IIDA, MAKIO
简单同族:
EP1662474A1 | EP1662474A4 | JP4882745B2 | JPWO2006009106A1 | JPWO2006009106A5 | KR101115046B1 | KR1020070031262A | TW200617868A | TWI305340B | US20080272998A1 | WO2006009106A1
简单同族成员数量:
11
简单同族被引用专利总数:
51
诉讼案件数:
0
法律状态/事件:
撤回 | 权利转移