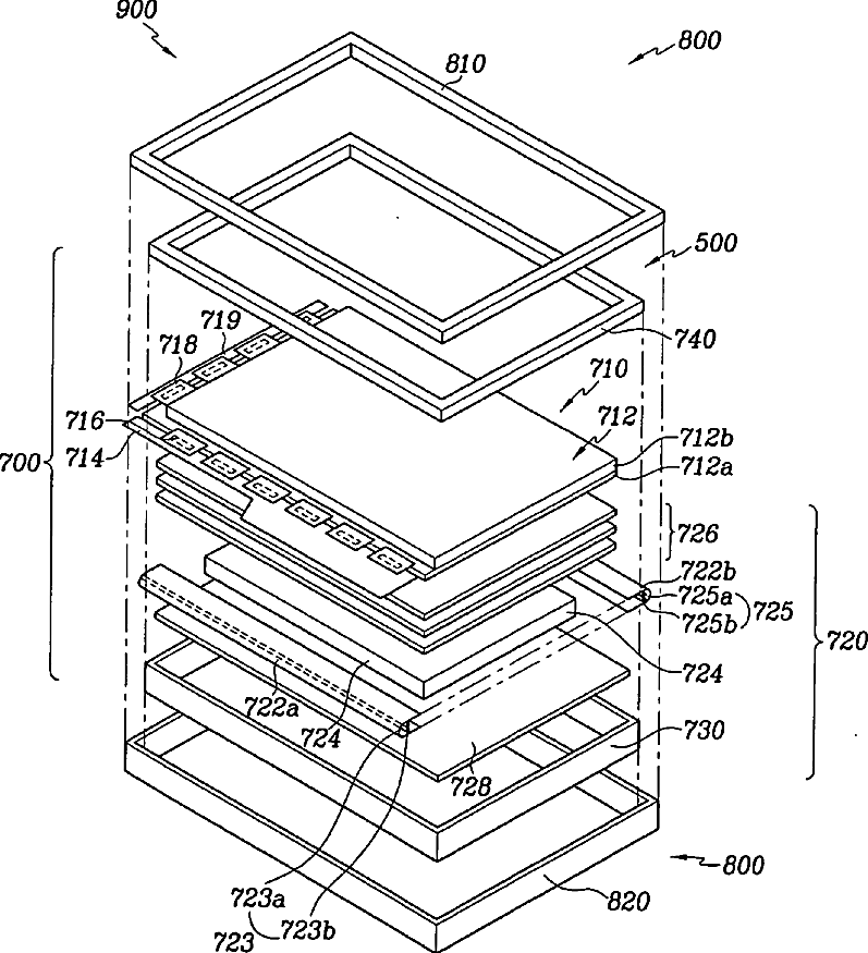
标题:
Inverter for liquid crystal display
授权日:
1900-01-01
公开(公告)号:
US20040056825A1
申请日:
2003-09-04
公开(公告)日:
2004-03-25
当前申请(专利权)人:
SAMSUNG DISPLAY CO., LTD.
发明人:
MIN, WOONG-KYU | JANG, HYEON-YONG
简单同族:
CN100504528C | CN1499248A | JP2004126567A | JP2010287575A | JP4970704B2 | JP5635313B2 | TW200405765A | TW201031270A | TWI396469B | TWI418249B | US20040056825A1 | US20080198183A1 | US20140247205A1 | US7417616 | US8723780 | US9082369
简单同族成员数量:
16
简单同族被引用专利总数:
90
诉讼案件数:
0
法律状态/事件:
授权 | 权利转移