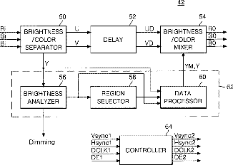
标题:
Method and apparatus for driving liquid crystal display
授权日:
2010-03-30
公开(公告)号:
US7688294
申请日:
2004-06-28
公开(公告)日:
2010-03-30
当前申请(专利权)人:
LG DISPLAY CO., LTD.
发明人:
BAIK, SEONG HO
简单同族:
CN100371981C | CN1619629A | DE102004031438A1 | DE102004031438B4 | FR2862420A1 | FR2862420B1 | GB0414549D0 | GB2408138A | GB2408138B | JP2005148710A | JP4279215B2 | KR100592385B1 | KR1020050047354A | TW200518017A | TWI291158B | US20050104842A1 | US7688294
简单同族成员数量:
17
简单同族被引用专利总数:
102
诉讼案件数:
0
法律状态/事件:
授权 | 权利转移